EasyManua.ls Logo

Konami HELLNIGHT - Page 48

Konami HELLNIGHT
53 pages
Print Icon
To Next Page IconTo Next Page
To Next Page IconTo Next Page
To Previous Page IconTo Previous Page
To Previous Page IconTo Previous Page
Loading...
46
8 Annex
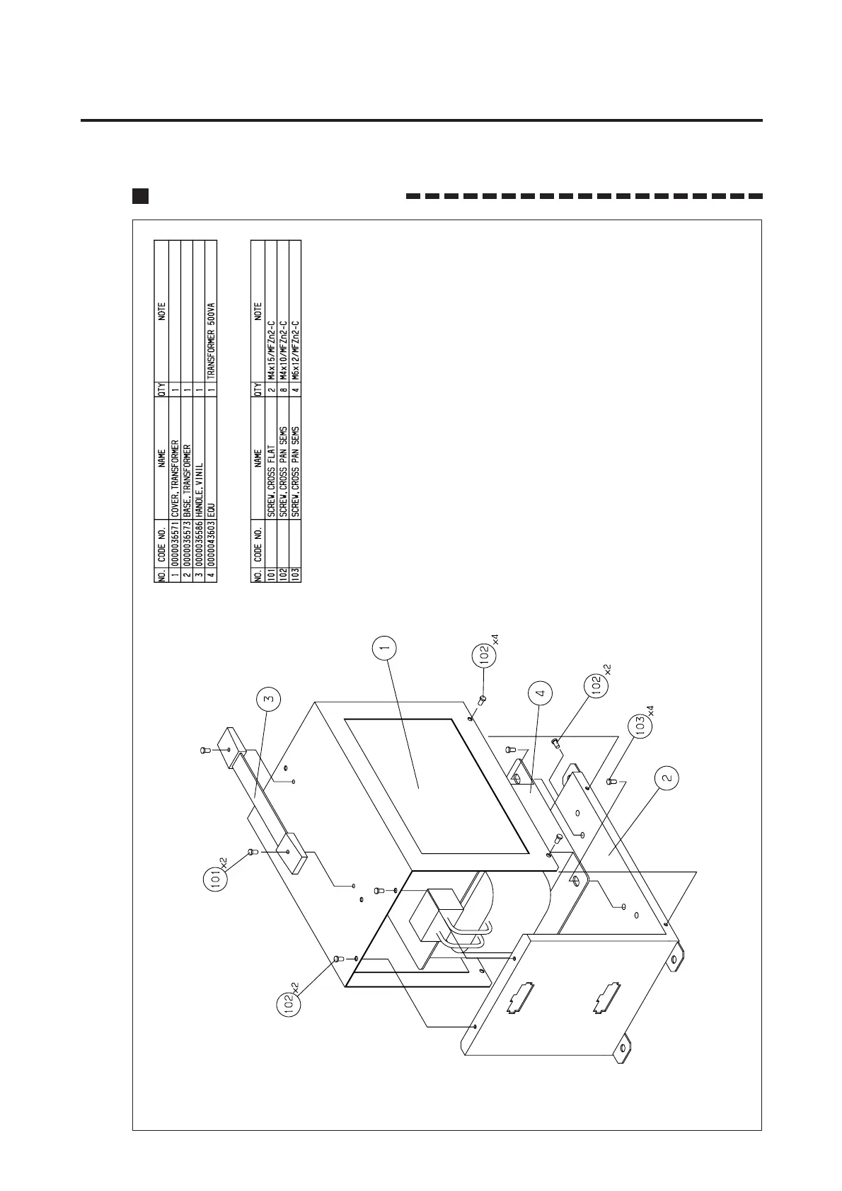
FIG.11 UNIT, TRANSFORMER

Related product manuals