EasyManua.ls Logo

Lenovo Flex 7 - Page 32

Lenovo Flex 7
68 pages
Print Icon
To Next Page IconTo Next Page
To Next Page IconTo Next Page
To Previous Page IconTo Previous Page
To Previous Page IconTo Previous Page
Loading...
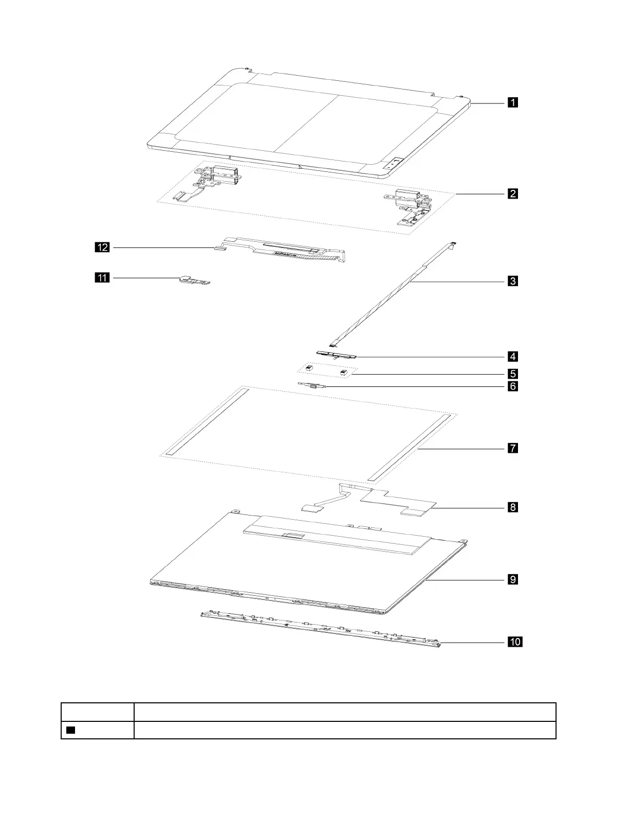
Figure 2. Lenovo Flex 7 14IAU7 LCD unit - exploded view
Table 3. FRU categories for the LCD unit
No. FRU (CRU) category
1
LCD cover
26 Hardware Maintenance Manual

Related product manuals