EasyManua.ls Logo

Lenovo ThinkPad E480 - Bottom View; Locating Frus and Crus

Lenovo ThinkPad E480
102 pages
Print Icon
To Next Page IconTo Next Page
To Next Page IconTo Next Page
To Previous Page IconTo Previous Page
To Previous Page IconTo Previous Page
Loading...
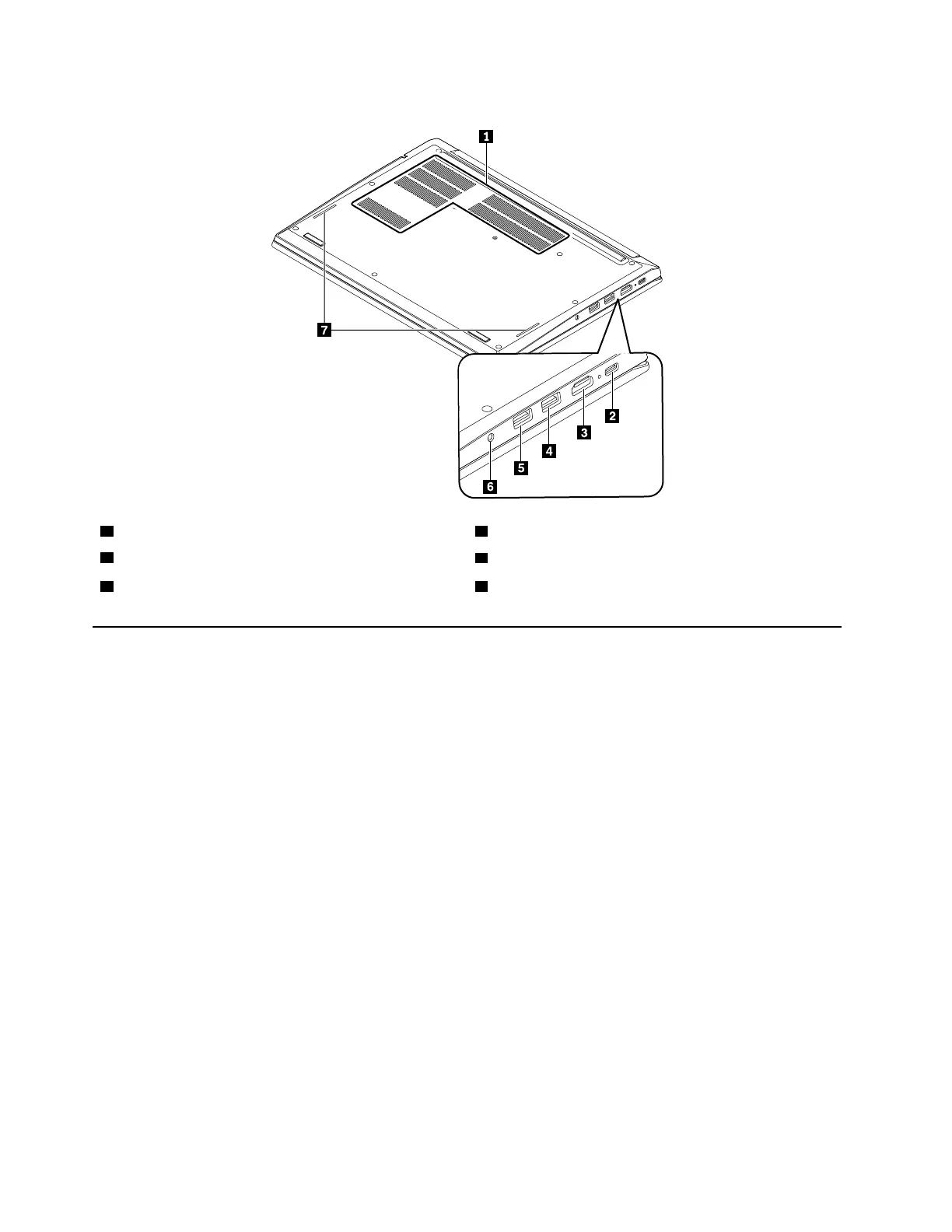
Bottom view
1 Fan louvers
2 USB-Cconnector
3 HDMIconnector
4 Always On USB 3.1 connector Gen 1
5 USB 3.1 connector Gen 1
6 Audio connector
Locating FRUs and CRUs
This topic introduces the following service parts:
“Major FRUs” on page 50
“LCD FRUs” on page 52
48
E480, E485, and R480 Hardware Maintenance Manual

Table of Contents

Other manuals for Lenovo ThinkPad E480

Related product manuals