EasyManua.ls Logo

LGL Electronics EcoPower - Page 19

LGL Electronics EcoPower
44 pages
Print Icon
To Next Page IconTo Next Page
To Next Page IconTo Next Page
To Previous Page IconTo Previous Page
To Previous Page IconTo Previous Page
Loading...
19
2 - INSTALLATION AND START-UP
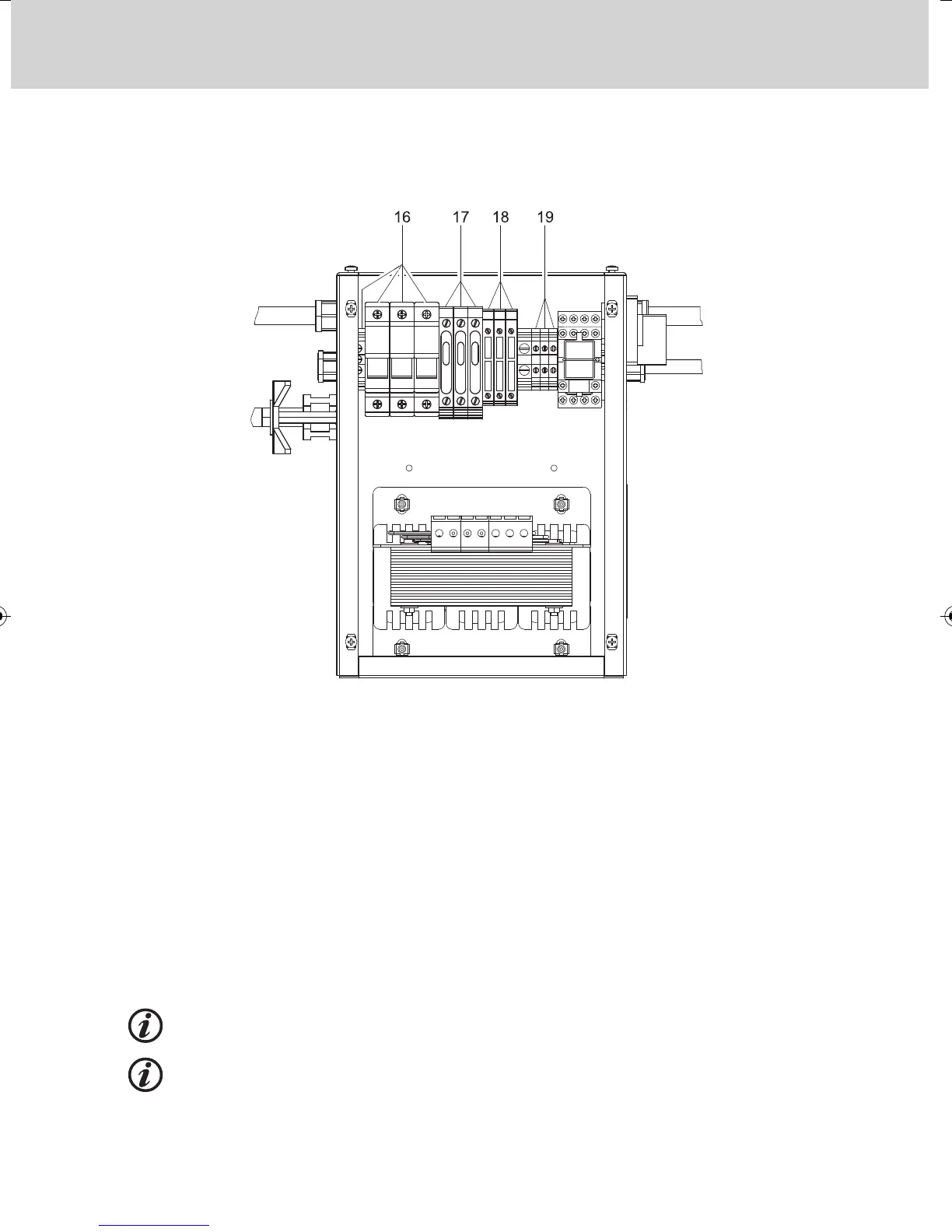
16. Power supply input.
17. Delayed protection fuses 48 V AC.
18. Delayed protection fuses 48 V AC main machine power line.
19. Machine stop cable connection clamps
yellow/green wire: common
- brown wire: contact normally closed
- grey wire: contact normally open
N.B. The spare fuses are located inside the relative fuse carriers (17-18)
Always replace fuses with new fuses having the same value.
Check to see that the transformer inlet connection complies with the
power supply voltage.
Internal view
02_ECOpower_Rv0_ENG@01# 28/08/14 18.26 Pagina 19