EasyManua.ls Logo

MagCore Plus II - Replace PCB

MagCore Plus II
80 pages
Print Icon
To Next Page IconTo Next Page
To Next Page IconTo Next Page
To Previous Page IconTo Previous Page
To Previous Page IconTo Previous Page
Loading...
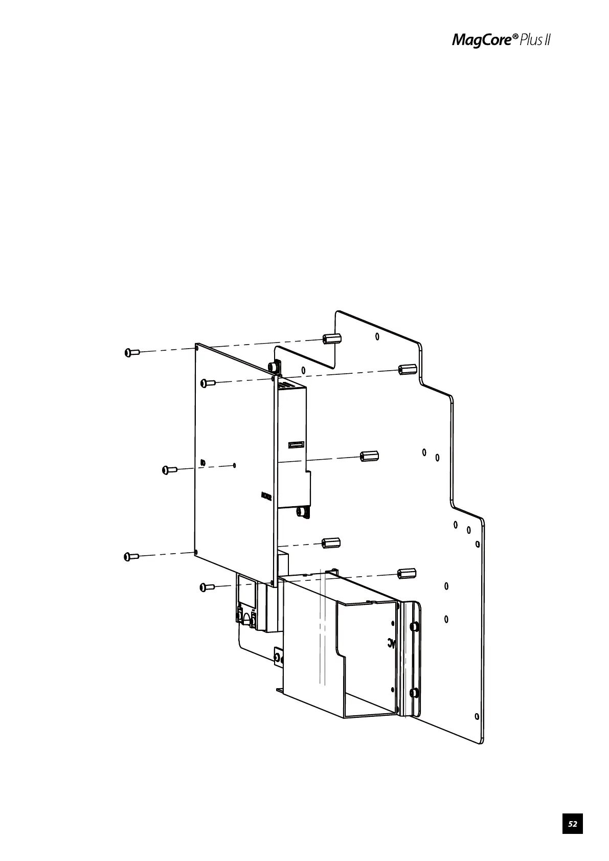
Replace PCB
1. unplug all the plugs on PCB
2. unscrew the five screws panel
3. Remove the PCB and replace with a new PCB panel.

Table of Contents

Other manuals for MagCore Plus II