EasyManua.ls Logo

MagCore Plus II - Replace Solid State Relay (SSR)

MagCore Plus II
80 pages
Print Icon
To Next Page IconTo Next Page
To Next Page IconTo Next Page
To Previous Page IconTo Previous Page
To Previous Page IconTo Previous Page
Loading...
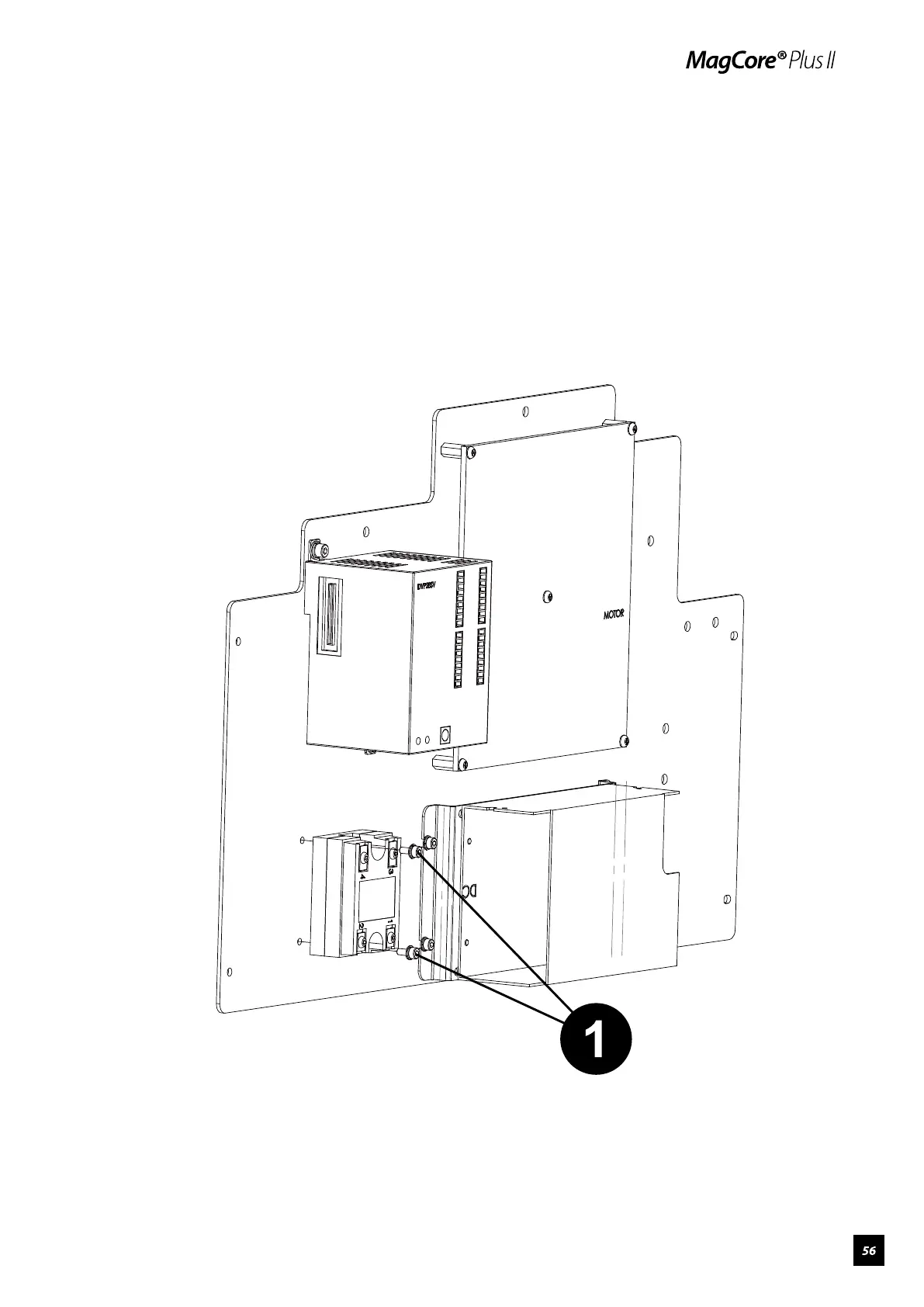
Replace Solid State Relay (SSR)
1. Remove the two screws on SSR. Remove the SSR and replace with a new
one.

Table of Contents

Other manuals for MagCore Plus II