EasyManua.ls Logo

MagCore Plus II - Replace Power Supply

MagCore Plus II
80 pages
Print Icon
To Next Page IconTo Next Page
To Next Page IconTo Next Page
To Previous Page IconTo Previous Page
To Previous Page IconTo Previous Page
Loading...
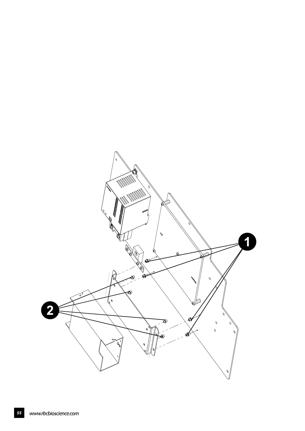
Replace power supply
1. Loosen the four screws of power supply.
2. Remove the four screws inside the power supply.
NOTE: Please contact RBC Bioscience for further questions regarding power
supply replacement.

Table of Contents

Other manuals for MagCore Plus II