EasyManua.ls Logo

Manitowoc QuietQube SD0672C - Page 50

Manitowoc QuietQube SD0672C
298 pages
Print Icon
To Next Page IconTo Next Page
To Next Page IconTo Next Page
To Previous Page IconTo Previous Page
To Previous Page IconTo Previous Page
Loading...
50 Part Number 80-1505-3 6/11
CONNECT THE LINE SET TO THE CVD
®
CONDENSING UNIT
The compressor oil rapidly absorbs moisture. Be
prepared to complete line set installation and start
your evacuation process in order to minimize the time
the compressor is exposed to the atmosphere.
(Maximum amount of time the system can be exposed
to the atmosphere is 15 minutes.)
The line set can be routed for entry through the front or
left side of the condensing unit.
Remove knockout for side location.
Insert supplied plastic bushings in knockout holes
to prevent tubing from contacting sheet metal.
Use the supplied 90° elbows to route tubing.
Cut the tubing ends of the suction and liquid lines
and braze line sets to the condensing unit.
S3070C Only - use the provided tee to connect
the 2 suction lines from the head section to the
suction line on the condensing unit.
!
Warning
The condensing unit ships from the factory
pressurized with a 50/50 mixture of nitrogen/helium.
Bleed off pressure from both suction and liquid line
access ports prior to cutting into refrigeration lines.
MINIMIZE THE TIME THE REFRIGERATION
SYSTEM IS EXPOSED TO THE ATMOSPHERE
(15 MINUTES MAXIMUM).
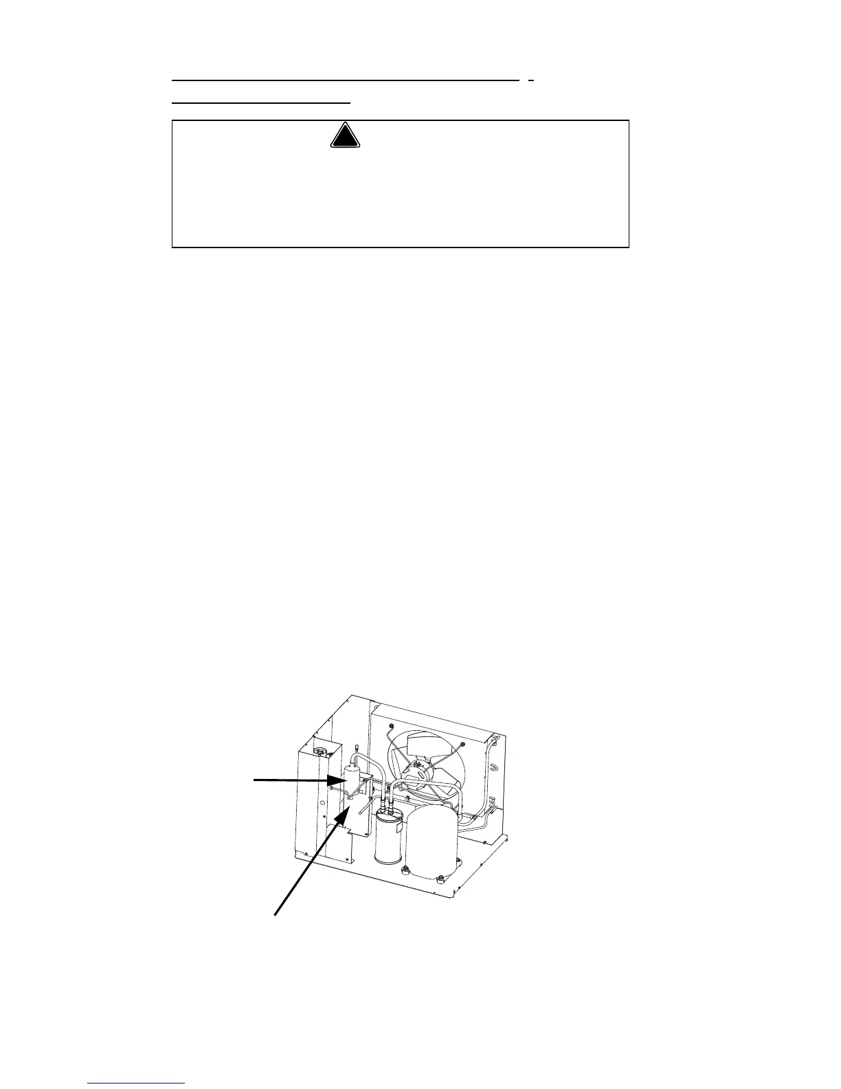
SUCTION
FILTER
SUCTION LINE

Table of Contents

Related product manuals