EasyManua.ls Logo

Marantz HD-DAC1 - IC48 NJV7181 Pin Configuration and Block Diagram

Marantz HD-DAC1
94 pages
Print Icon
To Next Page IconTo Next Page
To Next Page IconTo Next Page
To Previous Page IconTo Previous Page
To Previous Page IconTo Previous Page
Loading...
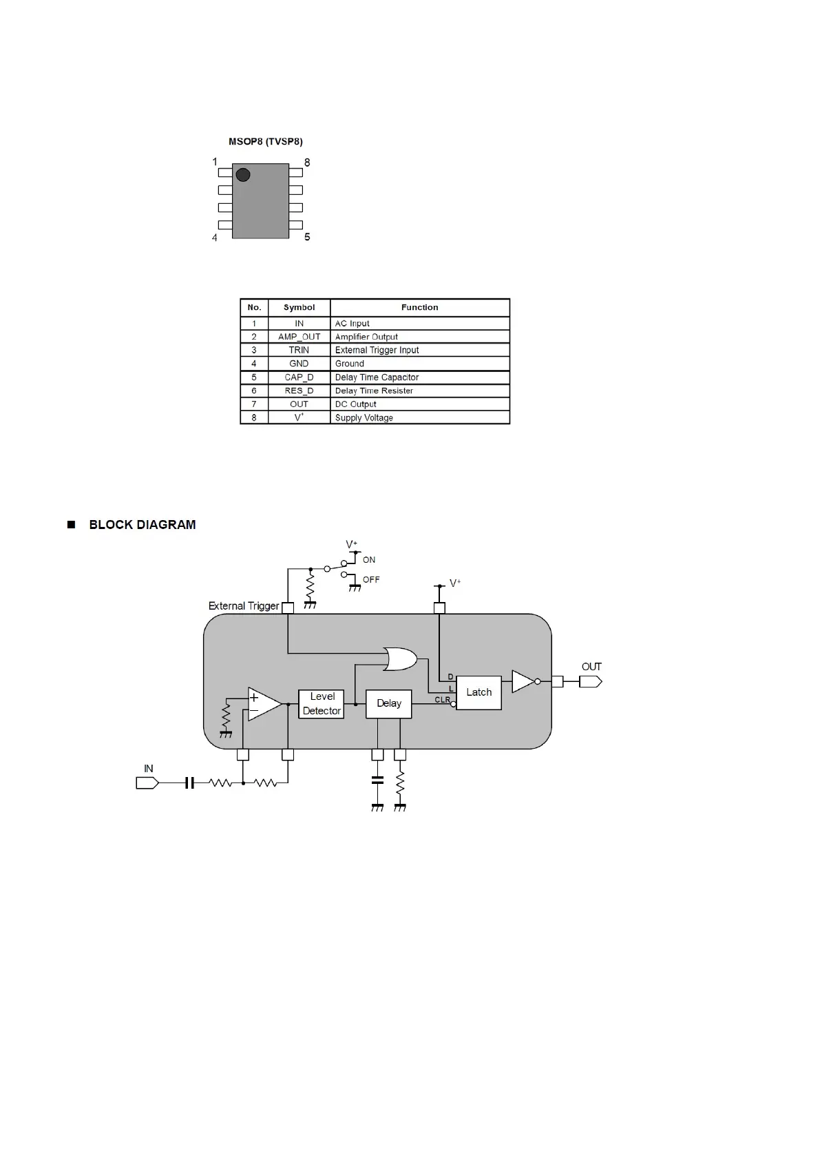
NJV7181 (IC48)
Pin conguration
BLOCK DIAGRAM
68

Other manuals for Marantz HD-DAC1