EasyManua.ls Logo

Marantz NR1601 - AK4424 ET (HDMI: U2305); AK4424 ET Block Diagram

Marantz NR1601
146 pages
Print Icon
To Next Page IconTo Next Page
To Next Page IconTo Next Page
To Previous Page IconTo Previous Page
To Previous Page IconTo Previous Page
Loading...
117
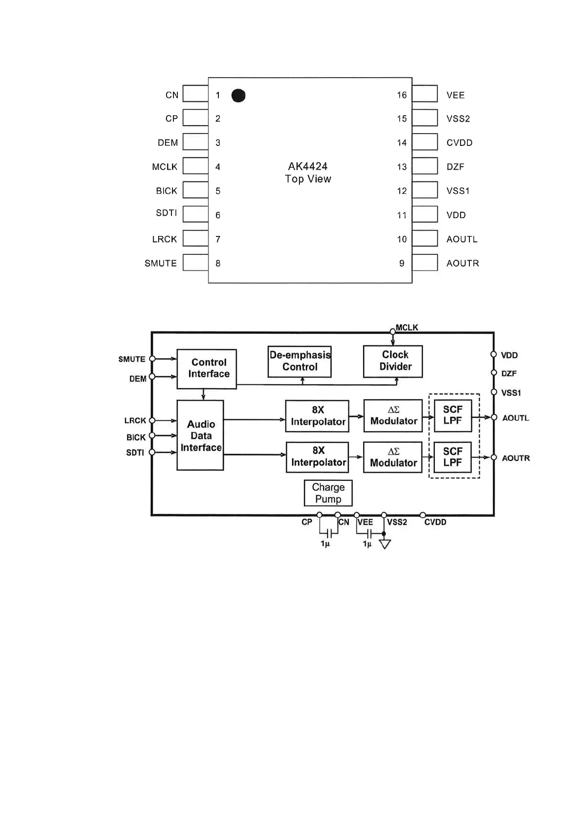
AK4424ET (HDMI : U2305)
AK4424ET Block Diagram

Other manuals for Marantz NR1601

Related product manuals