EasyManua.ls Logo

Marantz SA8400 - Page 34

Marantz SA8400
40 pages
Print Icon
To Next Page IconTo Next Page
To Next Page IconTo Next Page
To Previous Page IconTo Previous Page
To Previous Page IconTo Previous Page
Loading...
===
32
 !"#$%& !"#
 !"#$=
RANDOM
= ! !"=
PLAY
 ! !"#$%&'()*!+,-)* !
 !"#$okaj ! !"#$
 !"#$%&'()*+, O 
 !"#$%&'()#$*
STOP
 ! !"#$%&'()
RANDOM
 !
okaj ! !"#$%&'()*+,
 !"#$%&'"()= = !"#$
=
 !"#$%&'()*+,-
 !"#$%&'"()= =
 !"= =
 !"#$%&'()*+ ,#-./0-.$%1

 !"#$%&'(
 !"#$%&'()*+,
REPEAT

 !"#$%&'()
 !"#$%&
RANDOM
 ! !"#$
 !"#$%&'
 !"#$%&' !
 !"#$%&'()*+,-./0 12*+$PM
 !"#
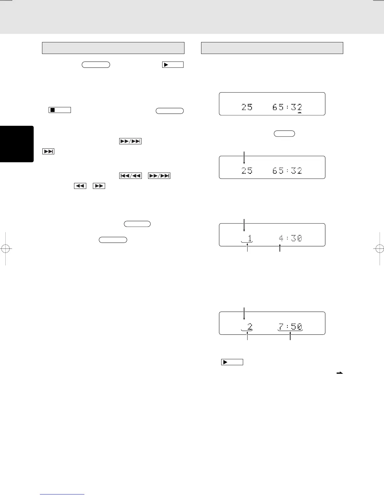
 !" 25  !"#$%&' 7  !
TOTAL
TRK
12 34 56 78 9101112 13 14 15 16 17 18 19 20
q  !"#$%&'()=
PROG
==mold
 !"#$%&'()*
PROG
TOTAL
TRK
w  !"#$%&'()*#+,-
 !"# 15  !"#$% 4 30 
PROG
TOTAL
TRK
15
e  !"# w  !"#$%&'()*+,!"-
 !"#$%&'()"*+, PM  !
 !"# T  !"# 7  15  !"#$% 7
50 
PROG
TOTAL
TRK
7 15
r =
PLAY
= ! !"#$%&'()*
G  ON  !"#$%&'()"#*+,-.'
 !


 !"#$%&'()*+

 !"#$%&'(

N  !"
 !"#

Other manuals for Marantz SA8400

Related product manuals