EasyManua.ls Logo

Marantz SR6006/U1B - Page 179

Marantz SR6006/U1B
225 pages
Print Icon
To Next Page IconTo Next Page
To Next Page IconTo Next Page
To Previous Page IconTo Previous Page
To Previous Page IconTo Previous Page
Loading...
179
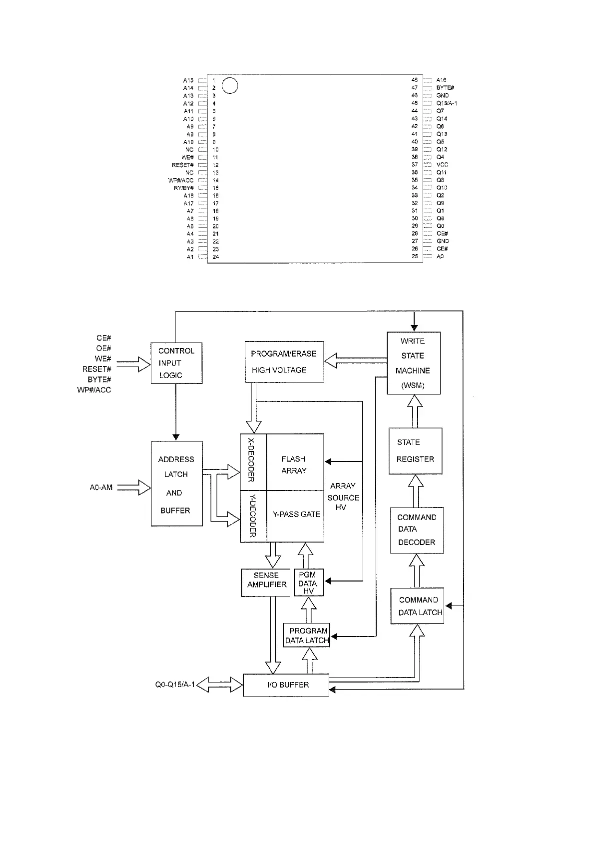
MX29LV160DBTI-70G (HDMI : IC410)
MX29LV160DBTI-70G Block Diagram

Table of Contents

Related product manuals