EasyManua.ls Logo

Marantz SR6006/U1B - Page 180

Marantz SR6006/U1B
225 pages
Print Icon
To Next Page IconTo Next Page
To Next Page IconTo Next Page
To Previous Page IconTo Previous Page
To Previous Page IconTo Previous Page
Loading...
180
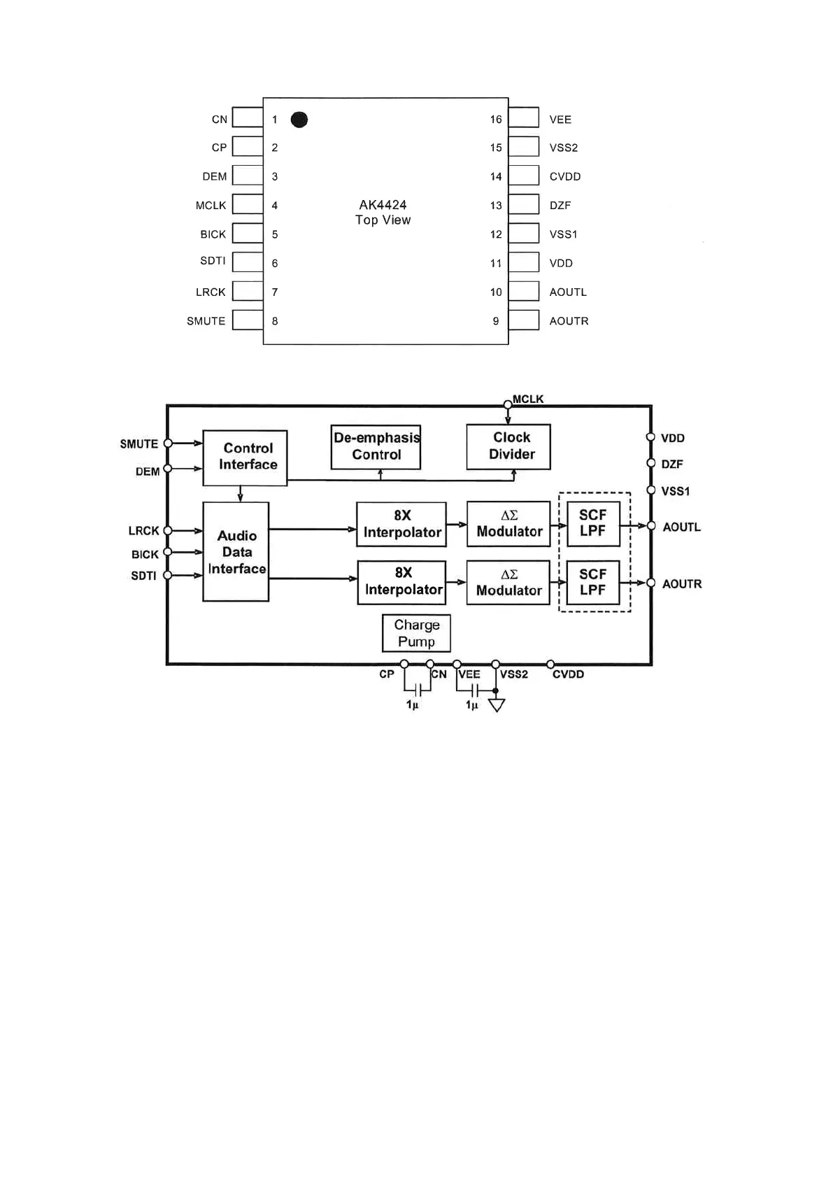
AK4424ET (HDMI : IC455,IC457)
AK4424ET Block Diagram

Table of Contents

Related product manuals