EasyManua.ls Logo

Masimo SET Radical-7 - Analog Output and Nurse Call Test Details

Masimo SET Radical-7
40 pages
Print Icon
To Next Page IconTo Next Page
To Next Page IconTo Next Page
To Previous Page IconTo Previous Page
To Previous Page IconTo Previous Page
Loading...
Radical-7 Signal Extraction Pulse CO-Oximeter Service Manual
8-1
8
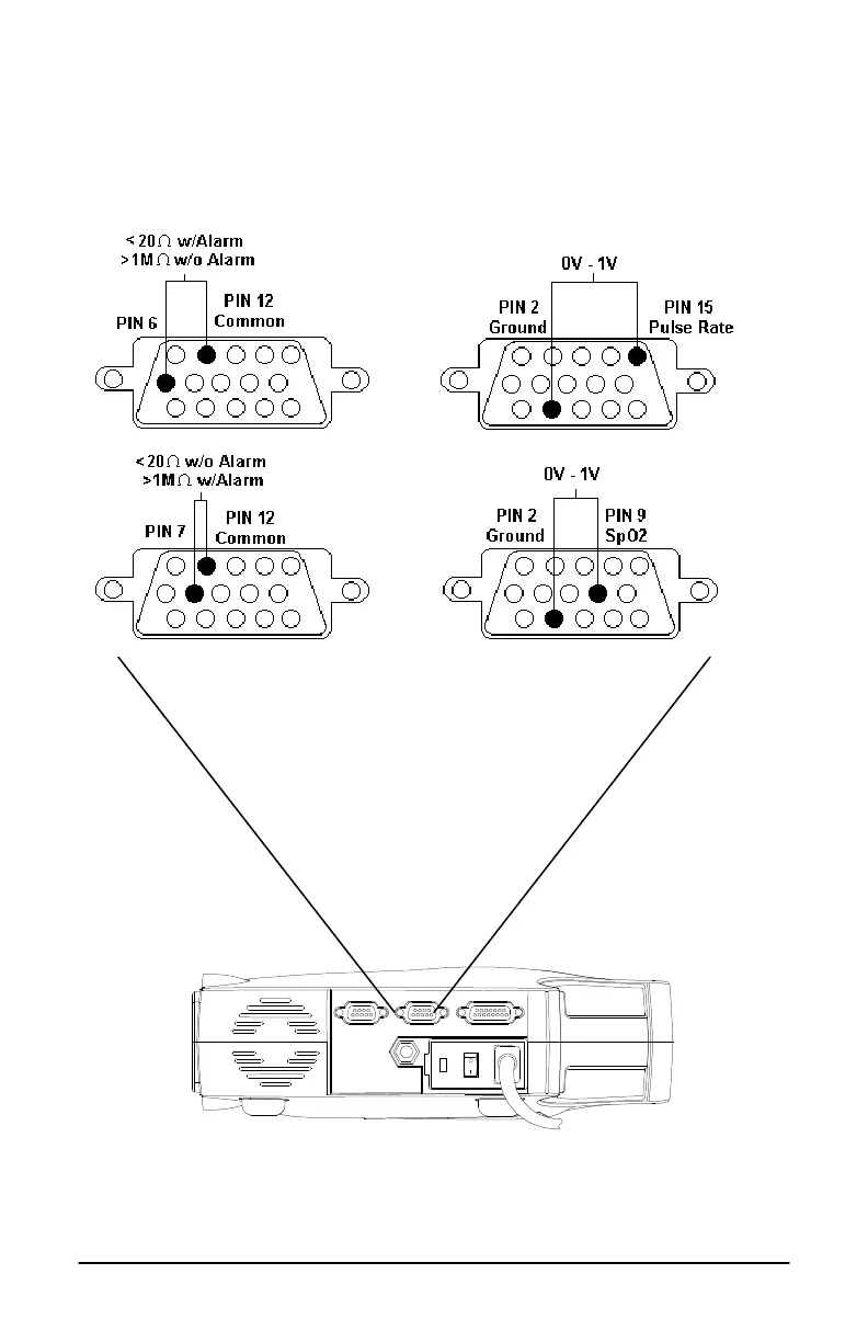
Analog Output/Nurse Call Test

Related product manuals