EasyManua.ls Logo

Mazda 2006-2008 RX7 Engine - Spool Valve Operation Inspection; Valve Clearance Inspection

Mazda 2006-2008 RX7 Engine
60 pages
Print Icon
To Next Page IconTo Next Page
To Next Page IconTo Next Page
To Previous Page IconTo Previous Page
To Previous Page IconTo Previous Page
Loading...
MECHANICAL
01–10–22
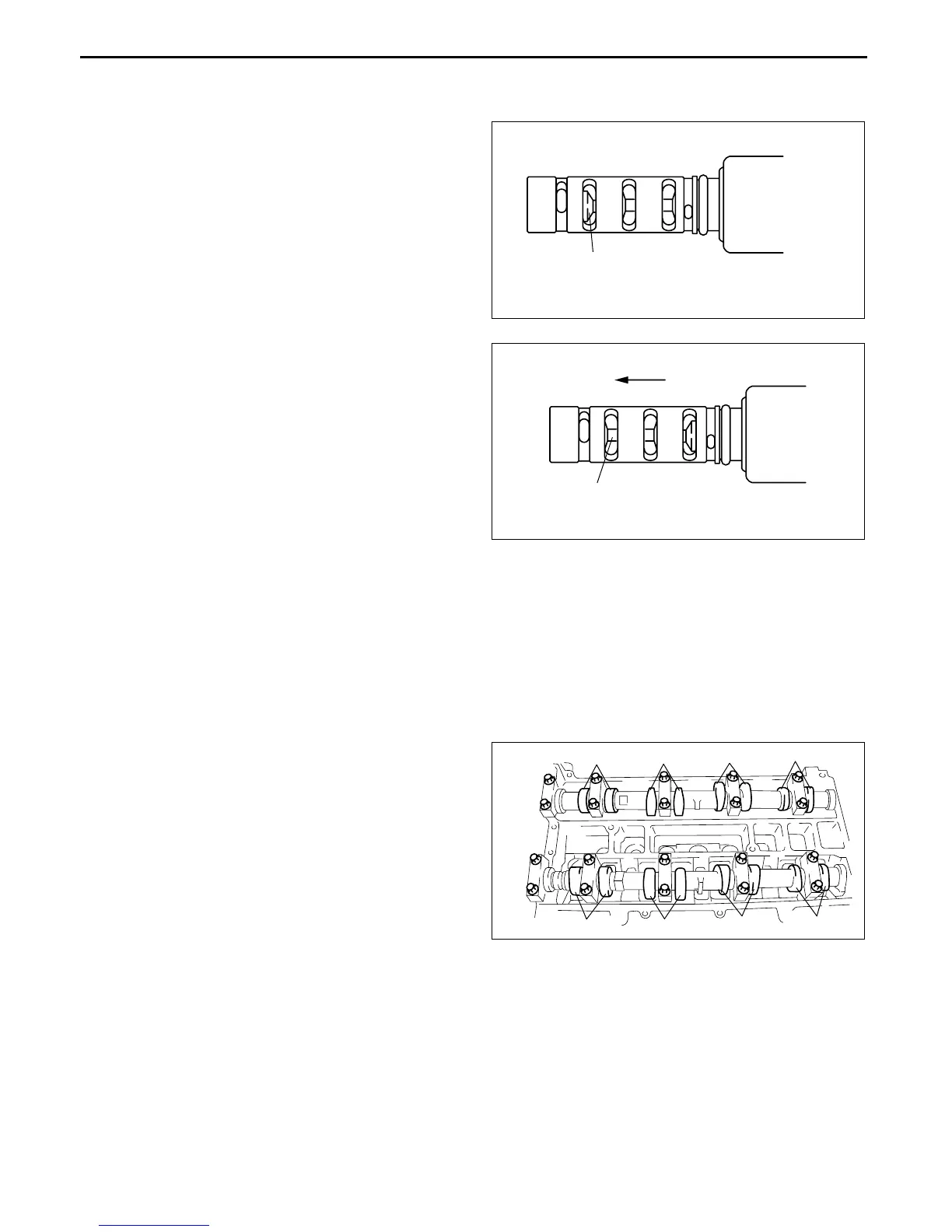
Spool Valve Operation Inspection
1. Disconnect the negative battery cable.
2. Remove the oil control valve (OCV).
3. Verify that the spool valve in the oil control valve
(OCV) is in the maximum valve timing retard
position as indicated in the figure.
If it exceeds the specification, replace the oil
control valve (OCV).
4. Verify that the battery is fully charged.
If it is less than specification, recharge the
battery.
5. Apply battery positive voltage between the oil
control valve (OCV) terminals and verify that the
spool valve operates and moves to the maximum
valve timing advance position.
If it exceeds the specification, replace the oil
control valve (OCV).
Note
When applying battery positive voltage
between the oil control valve (OCV)
terminals, the connection can be either of
the following:
Positive battery cable to terminal A,
negative battery cable to terminal B
Positive battery cable to terminal B, negative battery cable to terminal A
6. Stop applying battery positive voltage and verify that the spool valve returns to the maximum valve timing retard
position.
If it exceed the specification, replace the oil control valve (OCV).
End Of Sie
VALVE CLEARANCE INSPECTION
E5U011012111E03
1. Measure the valve clearance as follows.
(1) Turn the crankshaft clockwise so that the No.1 piston is at TDC of the compression stroke.
(2) Measure the valve clearance at A in the
figure.
If the valve clearance exceeds the
standard, replace the tappet. (See 01–
10–23 VALVE CLEARANCE
ADJUSTMENT.)
Note
Make sure to note the measured values for
choosing the suitable replacement tappets.
Valve clearance [Engine cold]
IN: 0.22—0.28 mm {0.0087—0.0110 in}
EX: 0.27—0.33 mm {0.0106—0.0130 in}
(3) Turn the crankshaft 360° clockwise so that the No.4 piston is at TDC of the compression stroke.
(4) Measure the valve clearance at B in the figure.
If the valve clearance exceeds the standard, replace the tappet. (See 01–10–23 VALVE CLEARANCE
ADJUSTMENT.)
Note
Make sure to note the measured values for choosing the suitable replacement tappets.
Valve clearance [Engine cold]
IN: 0.22—0.28 mm {0.0087—0.0110 in}
EX: 0.27—0.33 mm {0.0106—0.0130 in}
SPOOL VALVE
(MAXIMUM VALVE TIMING RETARD POSITION
B3E0110E090
VALVE TIMING
ADVANCE
VALVE TIMING
RETARD
SPOOL VALVE
(MAXIMUM VALVE TIMING ADVANCE POSITION)
B3E0110E091
A
A
A
A
B
B
B
B
EX
IN
B3E0110E092

Table of Contents

Related product manuals