EasyManua.ls Logo

mectron PIEZOSURGERY plus - Installation of Piezosurgey Medical+ Insert Extension and Cover

mectron PIEZOSURGERY plus
60 pages
Print Icon
To Next Page IconTo Next Page
To Next Page IconTo Next Page
To Previous Page IconTo Previous Page
To Previous Page IconTo Previous Page
Loading...


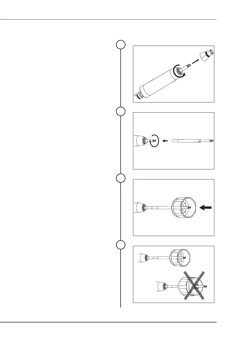
4.8 InstallationofPiezosurgey®Medical+Insert
ExtensionandCover
Unscrew the metal front cone of
the handpiece by turning it in an

1
     
   
®

handpiece till the end of the threading;
2
    
PIEZOSURGERY
®
  
wrench;
For the correct use of the Mectron torque
wrench, proceed as follows:
3
    
PIEZOSURGERY
®
  
wrench as shown;
4

Table of Contents

Related product manuals