EasyManua.ls Logo

Midland SPD-8 - Hydraulic Push Roller Assembly, SP-711; 18 Ptions

Midland SPD-8
145 pages
Print Icon
To Next Page IconTo Next Page
To Next Page IconTo Next Page
To Previous Page IconTo Previous Page
To Previous Page IconTo Previous Page
Loading...
www.roadwidener.com
130
Model SP-8 &10
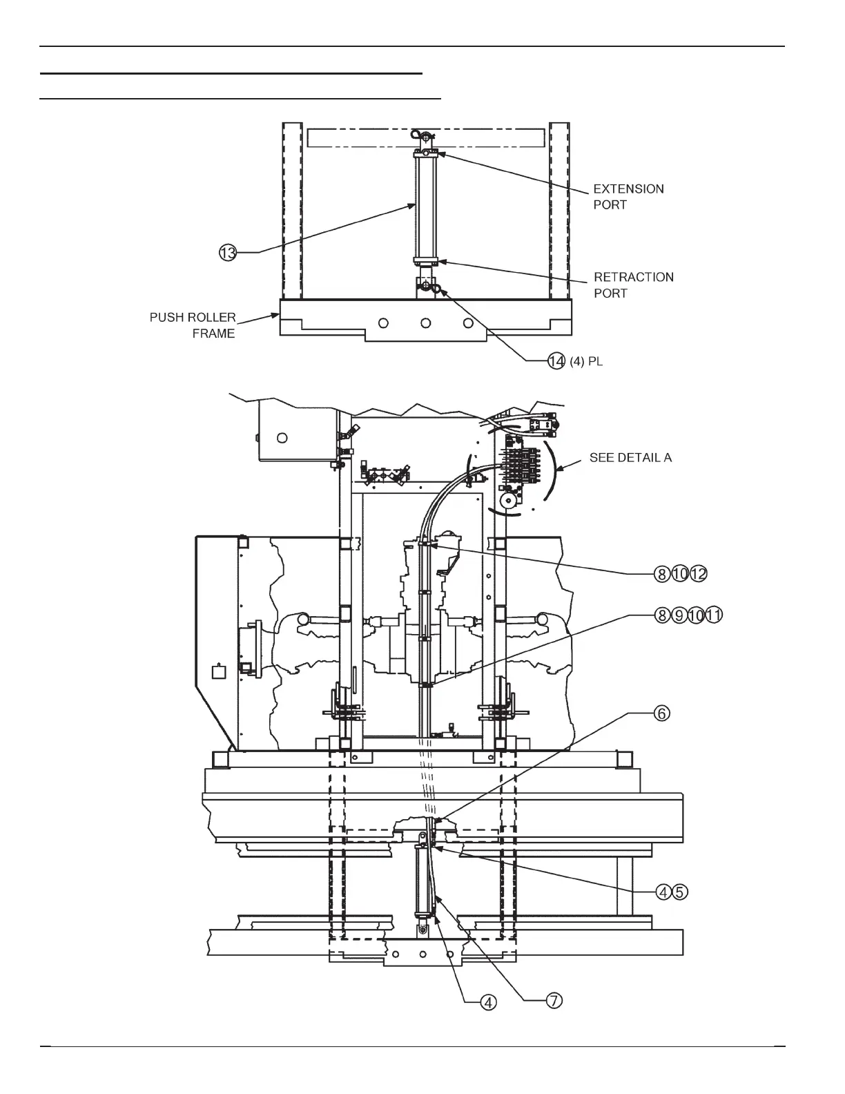
18.1 HydrAulIC pusH roller AssemBly, sp-711
18. optIons

Table of Contents

Related product manuals