EasyManua.ls Logo

Midland SPD-8 - 6 S Ervice a Nd M Aintenance; Service Intervals

Midland SPD-8
145 pages
Print Icon
To Next Page IconTo Next Page
To Next Page IconTo Next Page
To Previous Page IconTo Previous Page
To Previous Page IconTo Previous Page
Loading...
www.roadwidener.com
36
Model SP-8 &10
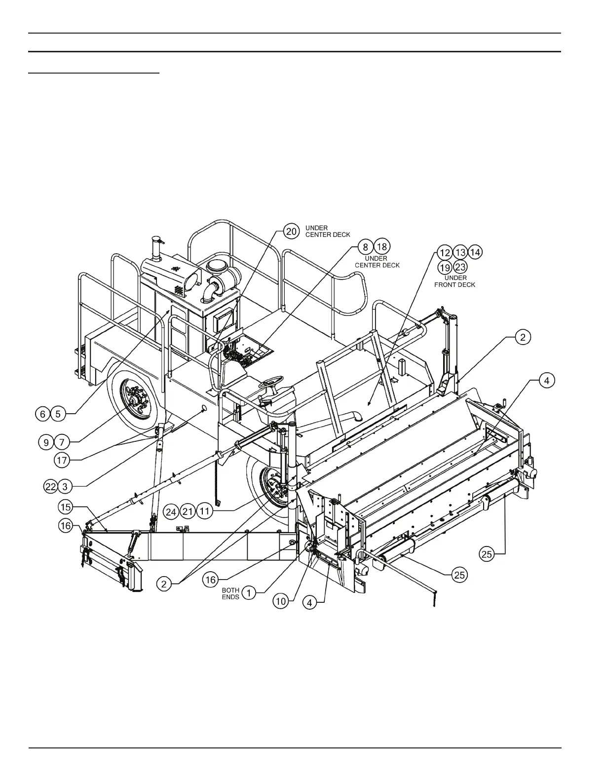
6. servICe And mAIntenAnCe
6.1 servICe IntervAls

Table of Contents

Related product manuals