EasyManua.ls Logo

Mitsubishi MELSEC QCPU - Rotation Instructions

Mitsubishi MELSEC QCPU
285 pages
Print Icon
To Next Page IconTo Next Page
To Next Page IconTo Next Page
To Previous Page IconTo Previous Page
To Previous Page IconTo Previous Page
Loading...
2 - 27 2 - 27
MELSEC-Q/QnA
2 INSTRUCTION TABLES
2) 2:The number of steps may vary depending on the device and type of CPU module being
used.
Component Nomber of basic steps
(1) When using the following devices only
• Word device : Internal device (except for file register ZR)
• Bit device : Devices whose device Nos. are multiples of 16, whose digit
designation is K8, and which use no index modification.
• Constant : No limitations
Note 1)
6
High Performance model QCPU
Process CPU
(2) When using devices other than (1)
Note 2)
4
Basic model QCPU
QnCPU
4 Note 2)
Note 1:With High Performance module QCPU, (1) requires more number of steps, while it can
process the steps faster, as compared with (2).
Note 2:The number of steps may increase due to the conditions described in Section 3.8.
3)
3 : The subset is effective only with QCPU.
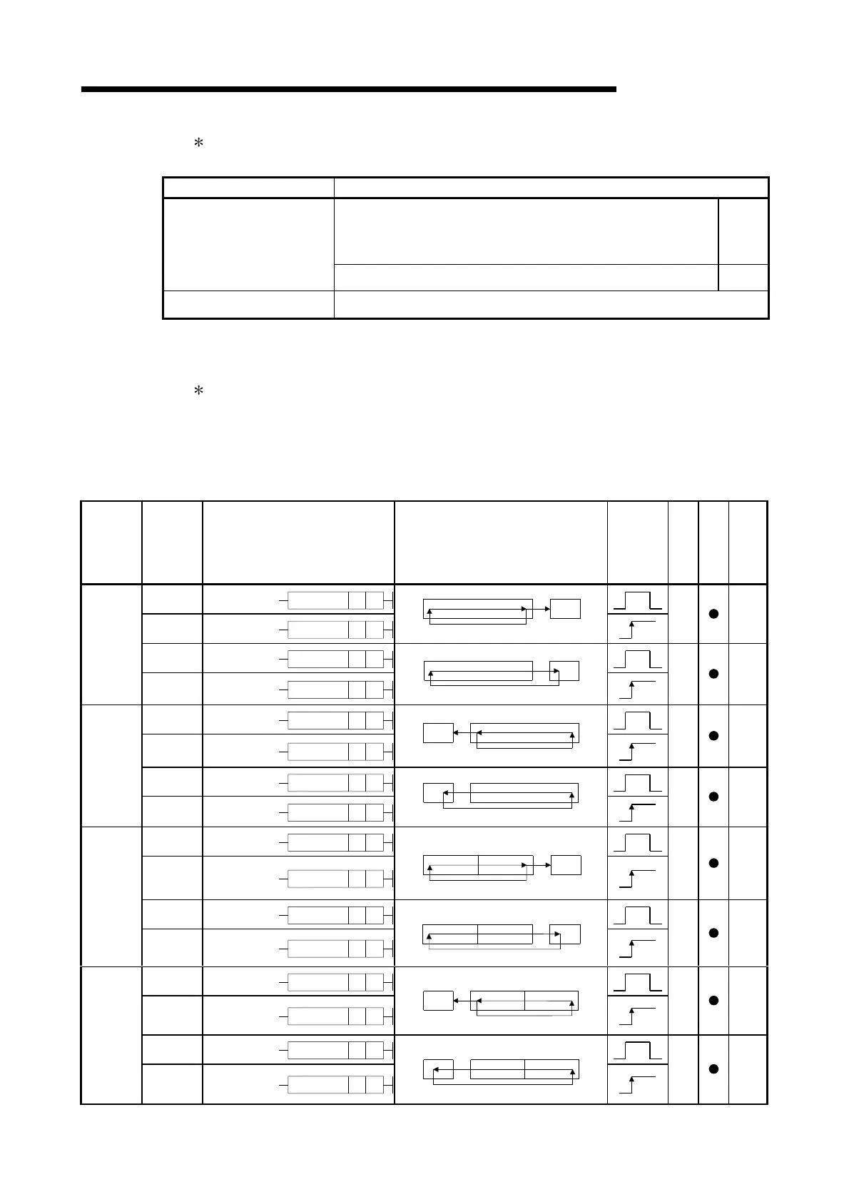
2.5.2 Rotation instructions
Table 2.19 Rotation Instructions
Category
Instruction
Symbols
Symbol Processing Details
Execution
Condition
Number of
Basic Steps
Subset
See for
Description
ROR
ROR nD
RORP
RORP nD
SM700
Rotates n bits to the right
(D) b0b15
3 7-30
RCR
RCR nD
Right
rotation
RCRP
RCRP nD
SM700
Rotates n bits to the right
(D) b0b15
3 7-30
ROL
ROL n
D
ROLP
ROLP nD
SM700
Rotates n bits to the left
(D) b0b15
3 7-32
RCL
RCL nD
Left
rotation
RCLP
RCLP nD
SM700
Rotates n bits to the left
(D) b0
b15
3 7-32
DROR
DROR nD
DRORP DRORP nD
b0b31
SM700
b16
to
b15
to
(D+1) (D)
Rotates n bits to the right
3 7-34
DRCR
DRCR nD
Right
rotation
DRCRP
DRCRP
n
D
SM700
b31 b16
to
b0b15
to
(D+1) (D)
Rotates n bits to the ri
g
ht
3 7-34
DROL
DROL nD
DROLP
DROLP nD
b0b31SM700 b16
to
b15
to
(D+1) (D)
Rotates n bits to the left
3 7-36
DRCL
DRCL nD
Left
rotation
DRCLP
DRCLP nD
(D+1) (D)
b0b31SM700 b16
to
b15
to
Rotates n bits to the left
3 7-36
Artisan Technology Group - Quality Instrumentation ... Guaranteed | (888) 88-SOURCE | www.artisantg.com

Table of Contents

Related product manuals