EasyManua.ls Logo

Motorola IMPRES 2 - Batterie IMPRES 2

Motorola IMPRES 2
588 pages
To Next Page IconTo Next Page
To Next Page IconTo Next Page
To Previous Page IconTo Previous Page
To Previous Page IconTo Previous Page
Loading...
36
Français
Batterie IMPRES 2
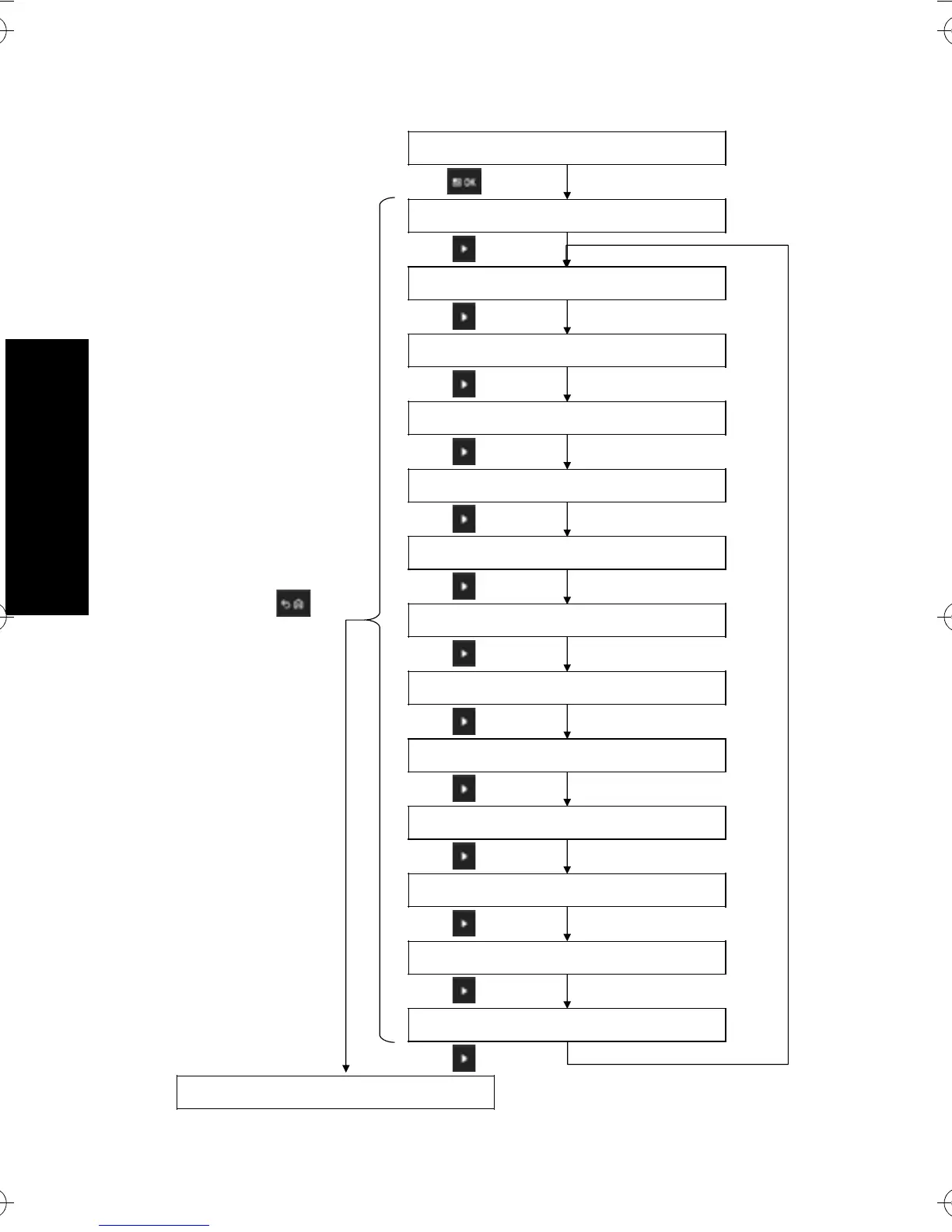
CHARGER SOF TWARE
VER z z . z z cyyyy
Press OK to exi t
ANA L Y Z ER MODE
Press OK to entr
ANA L Y Z ER MODE
IMPRES 2
BATTERY
BATTERY CAPAC I TY
Potent l yyyyymAh
BATTERY CAPAC I TY
Current yyyyymAh
BATTERY CAPAC I TY
Rated yyyyymAh
BATTERY CAPAC I TY
Ini al yyyyymAh
BATTERY CYCL ES
IMPRES yyyy
BATTERY CYCL ES
NON IMPRES yyyy
BATTERY CYCL ES
CALIBRATION yyyy
BATTERY SER I AL #
yyyyyyyyyyyy
BATTERY K I T #
yyyyyyyyyyyy
BATTERY TEMP
yyyF zzC
BATTERY VOL TAGE
y.yV
Retour
OK
Flèche droite
Flèche droite
Flèche droite
Flèche droite
Flèche droite
Flèche droite
Flèche droite
Flèche droite
Flèche droite
Flèche droite
Flèche droite
Flèche droite
Flèche droite
MN002407A01.book Page 36 Thursday, February 16, 2017 3:18 PM

Table of Contents

Other manuals for Motorola IMPRES 2

Related product manuals