EasyManua.ls Logo

Motorola IMPRES 2 - Autres Batteries Motorola Solutions

Motorola IMPRES 2
588 pages
To Next Page IconTo Next Page
To Next Page IconTo Next Page
To Previous Page IconTo Previous Page
To Previous Page IconTo Previous Page
Loading...
38
Français
Autres batteries Motorola Solutions
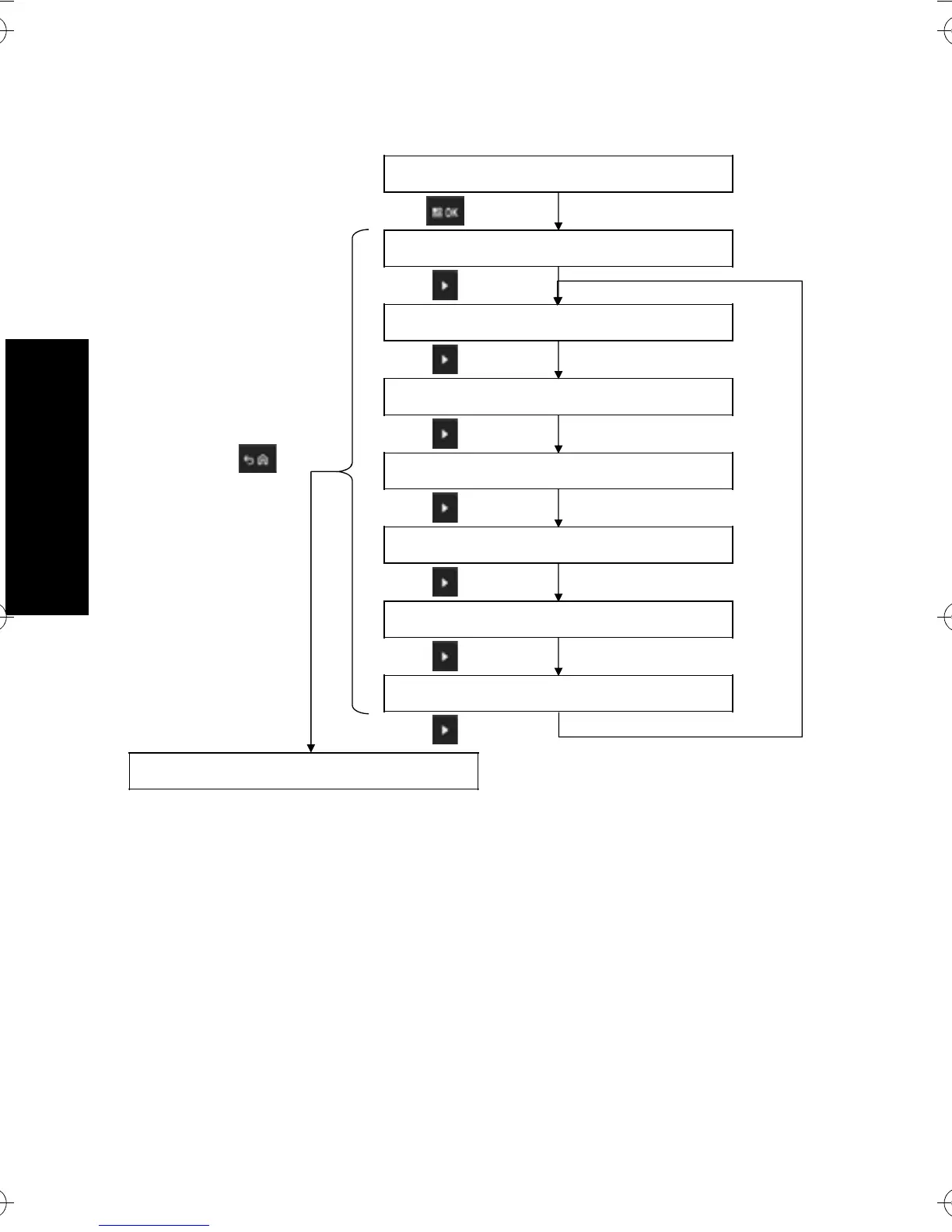
Press OK to entr
ANAL Y Z ER MODE
M O T O R O L A S O L U T N S
BATTERY
BATTERY CAPACI TY
Rated yyyyymAh
BATTERY SER I AL #
yyyyyyyyyyyy
BATTERY K I T #
yyyyyyyyyyyy
BATTERY TEMP
yyyF zzC
BATTERY VOL TAGE
y.yV
CHARGER SOF TWARE
VER z z . z z cyyyy
Press OK to exi t
ANAL Y Z ER MODE
Retour
OK
Flèche droite
Flèche droite
Flèche droite
Flèche droite
Flèche droite
Flèche droite
Flèche droite
MN002407A01.book Page 38 Thursday, February 16, 2017 3:18 PM

Table of Contents

Other manuals for Motorola IMPRES 2

Related product manuals