EasyManua.ls Logo

Napoleon BL46NTE - 14 BL36-1 Accessoires

Napoleon BL46NTE
124 pages
Print Icon
To Next Page IconTo Next Page
To Next Page IconTo Next Page
To Previous Page IconTo Previous Page
To Previous Page IconTo Previous Page
Loading...
W415-1705 / A / 07.13.17
118
FR
rechanges
14.0 BL36-1 accessoires
14
13
6
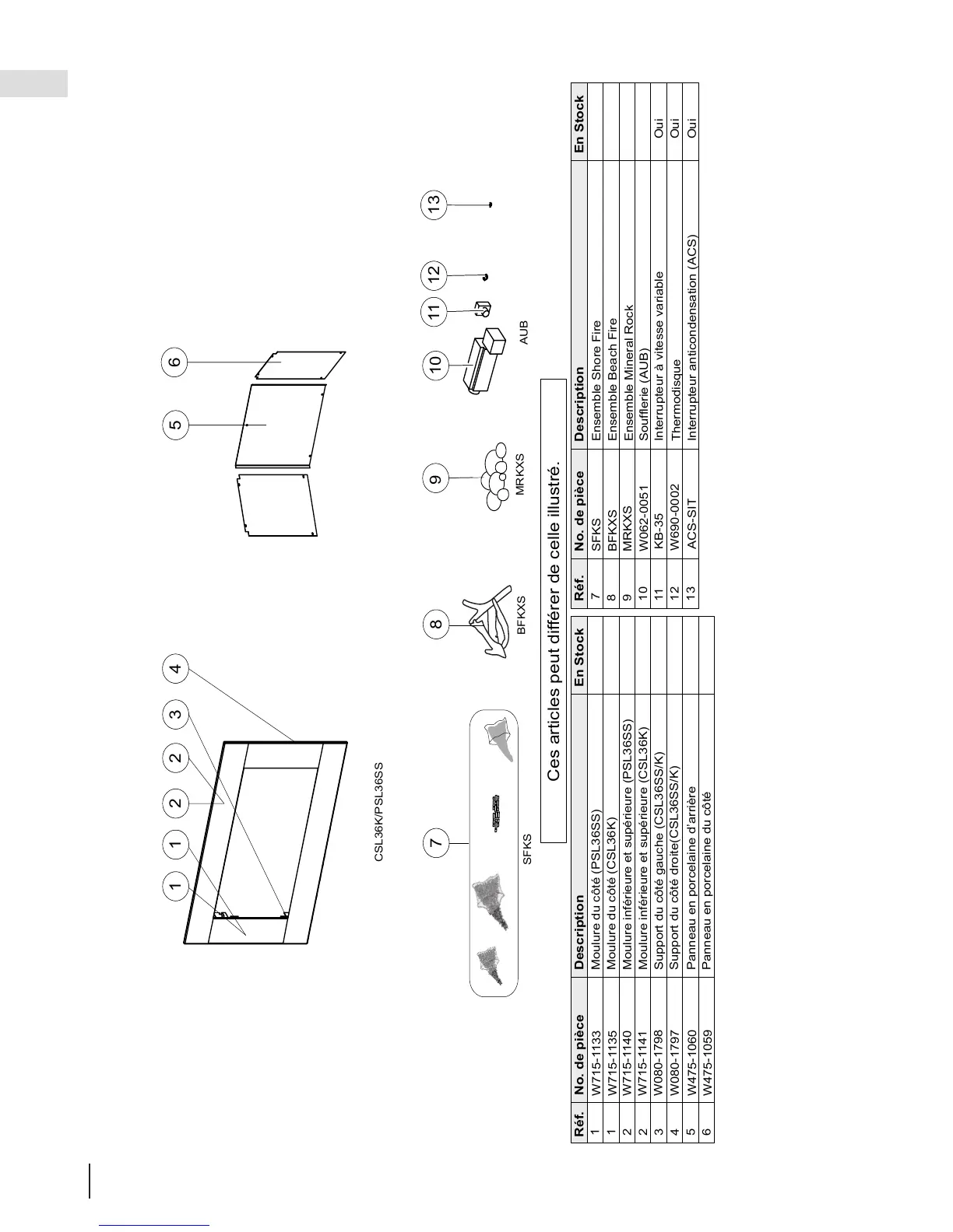
Ces articles peut différer de celle illustré.
Réf.
No. de pièce
Description
En Stock
1
2
2
3
4
5
Réf.
No. de pièce
Description
En Stock
8
9
10
11
05.05.17
44
2
44
5
54
53
52
55
12
11
10
13
AUB
W080-1797
Support du côté droite(CSL36SS/K)
W080-1798
Support du côté gauche (CSL36SS/K)
CSL36K/PSL36SS
1
SFKS
Ensemble Shore Fire
BFKXS
KB-35
Interrupteur à vitesse variable
Oui
W690-0002
Thermodisque
Oui
ACS-SIT
Interrupteur anticondensation (ACS)
Oui
Soufflerie (AUB)
W062-0051
BFKXS
MRKXS
Ensemble Mineral Rock
MRKXS
44
8
Ensemble Beach Fire
52
9
44
1
44
2
W715-1133
W715-1140
Moulure inférieure et supérieure (PSL36SS)
W715-1141
Moulure inférieure et supérieure (CSL36K)
44
1
W715-1135
W475-1060
Panneau en porcelaine d’arrière
44
7
Moulure du côté (PSL36SS)
Moulure du côté (CSL36K)
44
6
W475-1059
Panneau en porcelaine du côté
12
44
3
44
4
SFKS
7

Table of Contents

Other manuals for Napoleon BL46NTE

Related product manuals