EasyManua.ls Logo

Napoleon BL46NTE - 15 BL46 Accessories

Napoleon BL46NTE
124 pages
Print Icon
To Next Page IconTo Next Page
To Next Page IconTo Next Page
To Previous Page IconTo Previous Page
To Previous Page IconTo Previous Page
Loading...
EN
W415-1705 / A / 07.13.17
57
accessories
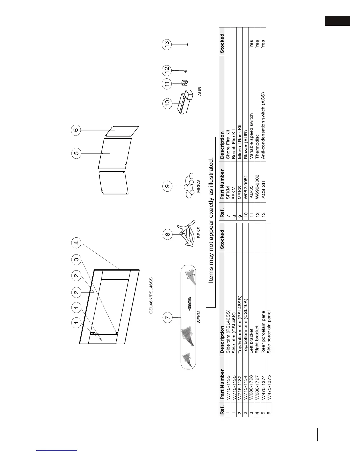
15.0 BL46 accessories
Items may not appear exactly as illustrated.
05.05.17
54
53
52
55
12
11
10
13
AUB
BFKS
MRKS
44
8
52
9
44
7
44
2
44
5
CSL46K/PSL46SS
44
1
44
2
44
1
44
6
44
3
44
4
14
13
6
Ref.
Part Number
Description
Stocked
1
2
2
3
4
5
Ref.
Part Number
Description
Stocked
8
9
10
11
W080-1797
Right bracket
W080-1798
Left bracket
1
SFKM
Shore Fire Kit
KB-35
Variable speed switch
Yes
W690-0002
Thermodisc
Yes
ACS-SIT
Anti-condensation switch (ACS)
Yes
Blower (AUB)
W062-0051
Beach Fire Kit
MRKS
Mineral Rock Kit
W715-1133
W715-1132
Top/bottom trim (PSL46SS)
W715-1134
Top/bottom trim (CSL46K)
W715-1135
W475-1374
Rear porcelain panel
Side trim (PSL46SS)
Side trim (CSL46K)
W475-1375
Side porcelain panel
12
SFKM
BFKM
7

Table of Contents

Other manuals for Napoleon BL46NTE

Related product manuals