EasyManua.ls Logo

Oakton pH 110 - Setup Mode Overview (pH and mV)

Oakton pH 110
76 pages
Print Icon
To Next Page IconTo Next Page
To Next Page IconTo Next Page
To Previous Page IconTo Previous Page
To Previous Page IconTo Previous Page
Loading...
Instruction Manual CyberScan pH 11 / 110
28
pH
MEAS
READY
23.4
7.03
During measurement mode
Repeat print procedure or
press CAL to exit
°C
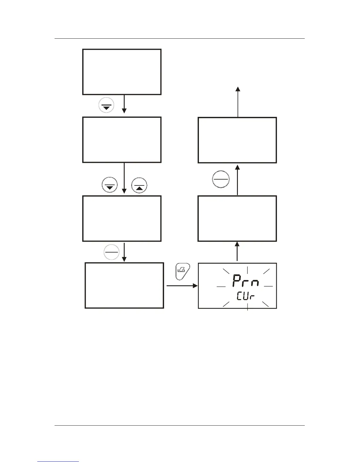
For example,select
memory location 10
Last memory input
location
Moves to next
memory location
MR
pH
pH
MEM
MEM
MEM
loc
loc
loc
20
10
9
MEM
MEM
5.69
5.69
22.4
22.4
ENTER
HOLD
ENTER
HOLD
ATC
°C
ATC
°C
MI
MR
Flash for 0.5 seconds
Figure 27: Print based on selected stored data from memory
For more information about Eutech Instruments’ CyberComm Portable Data
Acquisition Software programme, see section 10 - CYBERCOMM PORTABLE DAS
(Only for pH 110) on page 45.

Table of Contents

Related product manuals