EasyManua.ls Logo

omi CHW 21 - Одноконтурная Система Без Резервуара; Электрическая Схема; Стандартные Компоненты, Используемые В Холодильной Установке

Default Icon
82 pages
Print Icon
To Next Page IconTo Next Page
To Next Page IconTo Next Page
To Previous Page IconTo Previous Page
To Previous Page IconTo Previous Page
Loading...
710.1760.00.04-05 22/05/2014
44
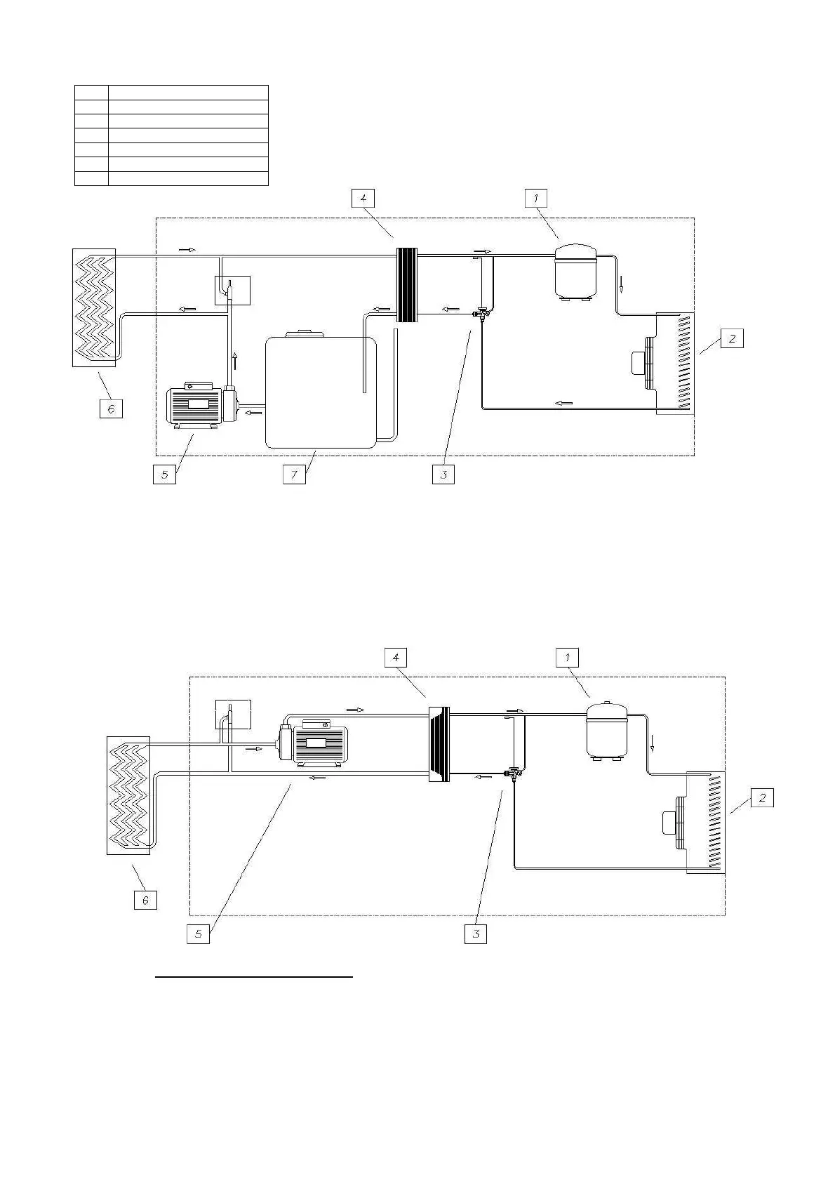
Обозначения:
1 Компрессор
2 Конденсатор
3 Расширительный клапан
4 Испаритель
5 Насос
6 Потребитель
7 Резервуар
ОДНОКОНТУРНАЯ СИСТЕМА БЕЗ РЕЗЕРВУАРА
Контур охлаждающего агента разработан, как одноконтурная система без резервуара. Насос перекачивает охлаждающий агент внутри
контура через испаритель и потребительное устройство. Охлаждающий агент охлаждается внутри испарителя. Контур состоит из
следующих компонентов:
насоса вертикальной или горизонтальной конструкции
Система трубопроводов состоит из медных или пластиковых трубок с подсоединением манометра и датчика для операционных
термостатов и цифрового температурного дисплея. Если система спроектирована в качестве замкнутой системы без связи с
атмосферой, то в этом случае во внешнем контуре должны быть предусмотрены подсоединения вентилей и резервуар компенсации
давления, при необходимости.
3.4 ЭЛЕКТРИЧЕСКАЯ СХЕМА
СТАНДАРТНЫЕ КОМПОНЕНТЫ, ИСПОЛЬЗУЕМЫЕ В ХОЛОДИЛЬНОЙ УСТАНОВКЕ:
ALR – Комбинированное устройство регистрации неисправностей
Комбинированное устройство регистрации неисправностей суммирует все сообщения о неисправностях от компрессора, насоса(ов),
вентилятора (ов) прессостатов низкого и высокого давления, расходомера, а также регистрирует поломки датчиков. Последовательные
беспотенциальные соединения комбинированного устройства регистрации осуществляются через контакты распределительного шкафа
(смотрите принципиальную схему в Приложении).

Table of Contents

Related product manuals