EasyManua.ls Logo

Omnicomm Optim 3.0 - Page 19

Omnicomm Optim 3.0
Print Icon
To Next Page IconTo Next Page
To Next Page IconTo Next Page
To Previous Page IconTo Previous Page
To Previous Page IconTo Previous Page
Loading...
RU
18
Электронная версия
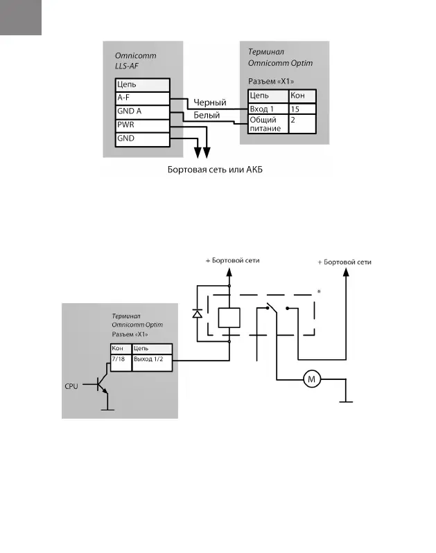
Подключение управляемого дополнительного оборудования
еле с напряжением срабатывания, подходящим для
напряжения бортовой сети данного автомобиля (12 или 24В).
Рисунок 16. Схема подключения датчика уровня топлива Omnicomm LLS-AF
Рисунок 17. Схема подключения к управляемому оборудованию

Related product manuals