EasyManua.ls Logo

Omnicomm Optim 3.0 - Connecting the Auxiliary Equipment to the Universal Inputs

Omnicomm Optim 3.0
Print Icon
To Next Page IconTo Next Page
To Next Page IconTo Next Page
To Previous Page IconTo Previous Page
To Previous Page IconTo Previous Page
Loading...
EN
35
Electronic version
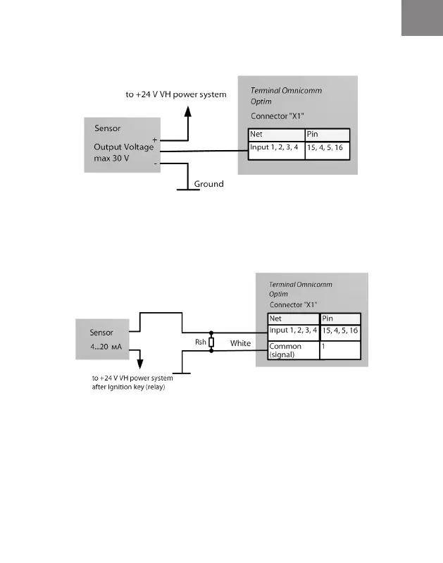
Connecting the auxiliary equipment to the universal inputs
Figure 11. Scheme of connection of the analogue sensor which has a unied voltage
output (for the sensors whose power supply range includes 24 V voltage) to the
universal input of the OmnicommOptim Terminal
Figure 12. Connection scheme for the analogue sensor which has a unied current
output.
Shunt R is from 500 to 1000 Ohm – 1 W – 0.5%.

Related product manuals