EasyManua.ls Logo

Omron CPM1A - Compobus;S I;O Link Connections; Devicenet I;O Link Connections; Peripheral Device Connections

Omron CPM1A
201 pages
Print Icon
To Next Page IconTo Next Page
To Next Page IconTo Next Page
To Previous Page IconTo Previous Page
To Previous Page IconTo Previous Page
Loading...
17
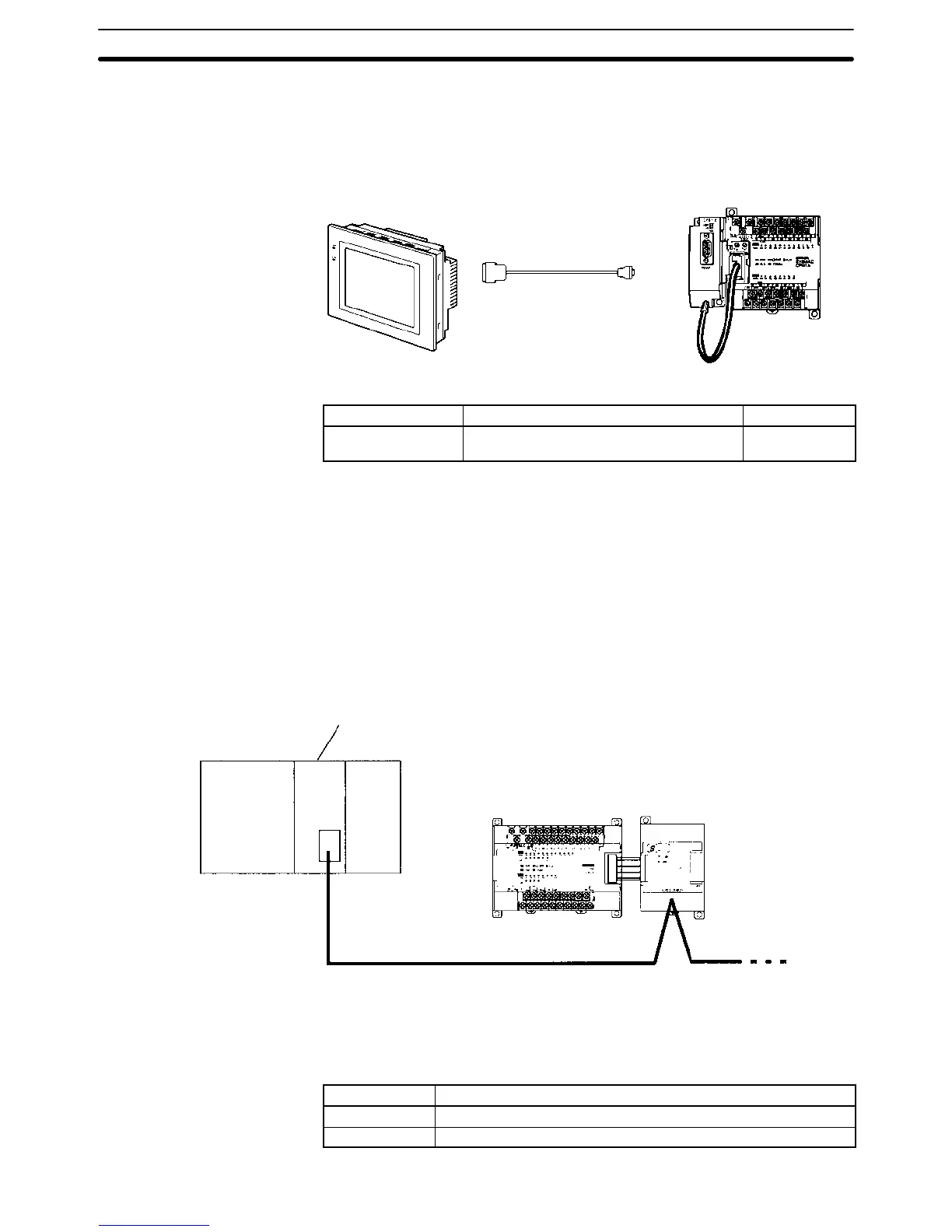
1-2-5 One-to-one NT Link Communications
Using the NT Link, the CPM1A PC can connected to the Programmable Termi-
nal (NT Link Interface) through an RS-232C Adapter.
OMRON Programmable Terminal
RS-232C Cable
CPM1A CPU Unit
RS-232C
Adapter
WX2Z-200T (2 m)
WX2Z-500T (5 m)
Name Usage Model number
RS-232C Adapter Converts to peripheral port-level
communications.
CPM1-CIF01
1-2-6 CompoBus/S I/O Link Connections
A CompoBus/S I/O Link can be used to create an I/O link (remote I/O) of 8 input
points and 8 output points with a CompoBus/S Master Unit or SRM1 PC. The
connection is made through a CompoBus/S I/O Link Unit.
From the standpoint of the CPM1A CPU Unit, the area allocated to the Compo-
Bus/S I/O Link Unit can be treated just like the area allocated to an Expansion I/O
Unit. The difference is that the bits are not actual I/O points, but I/O bits in the
Master Unit.
CPM1A CPU Unit
(with 30 or 40 I/O points)
CompoBus/S Master Unit (or SRM1 PC)
SYSMAC CS-series PC
CompoBus/S I/O Link Unit
(Slave)
Cables
Use special flat cable, VCTF 2-core cable, or VCTF 4-core cable. Do not com-
bine different types of cable in the same system.
Name Specifications
Flat cable 4-core flat cable, 0.75 mm
2
VCTF cable 2-core x 0.75 mm
2
, 4-core x 0.75 mm
2
(JIS C3306)
System Configuration
Section 1-2

Table of Contents

Other manuals for Omron CPM1A

Related product manuals