EasyManua.ls Logo

Omron V680-CA5D01-V2 - Page 42

Omron V680-CA5D01-V2
274 pages
Print Icon
To Next Page IconTo Next Page
To Next Page IconTo Next Page
To Previous Page IconTo Previous Page
To Previous Page IconTo Previous Page
Loading...
39
RFID System
User’s Manual
SECTION 2
Connection and Wiring
SECTION 2
Installation, Connections, and Wiring
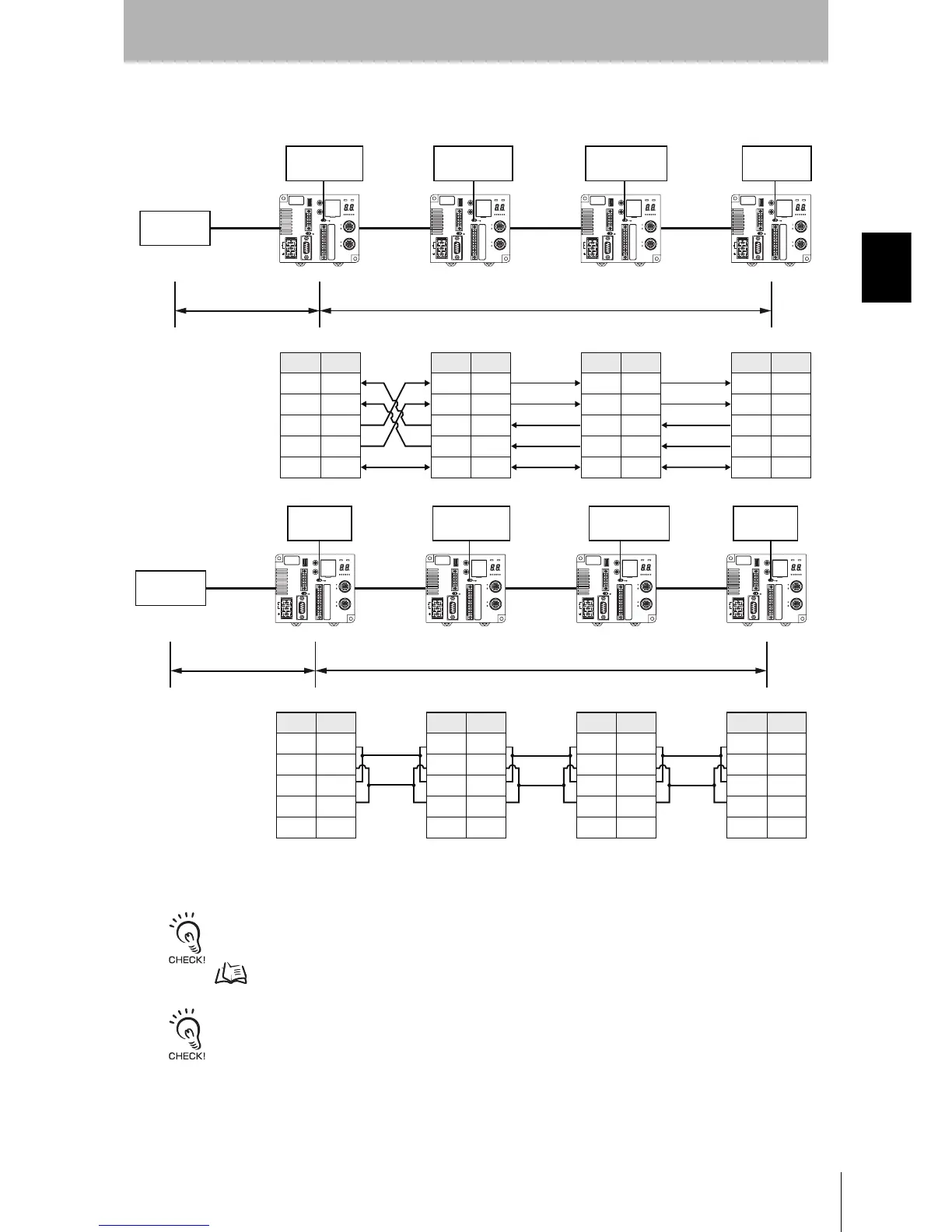
Connections between ID Controllers (1:N)
RS-232C Connection to the Host Device
Note: Short-circuit terminals 1 and 3, and 2 and 4 to use RS-485 communication.
Refer to Connections to Host Device for information on RS-232C connections between the host device and ID Control-
lers.
p. 34
If the first communications received by an ID Controller are via the RS-232C interface, reception of RS-422/RS-485
communications will be prohibited. If the first communications are received via RS-422/RS-485, reception of RS-232C
communications will be prohibited. Therefore, when changing the system configuration of an ID Controller, always turn
OFF the power supply before changing the connections.
ID ControllerID Controller
RS-422
ID Controller
RS-422
ID Controller
RS-422
Pin No. Symbol
1RDA()
2 RDB(+)
3SDA()
4 SDB(+)
5SG
SW 6: OFF
(no terminating
resistance)
Pin No. Symbol
1RDA()
2 RDB(+)
3SDA()
4 SDB(+)
5SG
Pin No. Symbol
1RDA()
2 RDB(+)
3SDA()
4 SDB(+)
5SG
Pin No. Symbol
1RDA()
2 RDB(+)
3SDA()
4 SDB(+)
5SG
Host device
RS-232C
SW 6: ON
(terminating
resistance)
Max. length: 15 m Total length: 500 m max.
SW 6: OFF
(no terminating
resistance)
SW 6: ON
(terminating
resistance)
RS-485 RS-485RS-485
1RDA()
2 RDB(+)
3SDA()
4 SDB(+)
5SG
1RDA()
2 RDB(+)
3SDA()
4 SDB(+)
5SG
1RDA()
2 RDB(+)
3SDA()
4 SDB(+)
5SG
1RDA()
2 RDB(+)
3SDA()
4 SDB(+)
5SG
RS-232C
ID Controller
Pin No. Symbol
SW 6: OFF
(no terminating
resistance)
Host device
SW 6: ON
(terminating
resistance)
Max. length: 15 m
Total length: 500 m max.
SW 6: OFF
(no terminating
resistance)
SW 6: ON
(terminating
resistance)
ID Controller
ID Controller
ID Controller
Pin No. Symbol Pin No. Symbol
Pin No.
Symbol

Other manuals for Omron V680-CA5D01-V2

Related product manuals