EasyManua.ls Logo

Opera PRIMA - Pause Function; Recall Function (Recovery Function)

Opera PRIMA
88 pages
Print Icon
To Next Page IconTo Next Page
To Next Page IconTo Next Page
To Previous Page IconTo Previous Page
To Previous Page IconTo Previous Page
Loading...
25
Operation EN
5.17 Bridging function
The front and the rear cooking zones may be activated
together for a cooking process (bridging function). This
enables larger cookware to be used.
1. Switch on the hob and position a pot on the cooking
zones that have to be bridged.
2. Press the two cooking zone selection keys of the front
and back cooking zones simultaneously to activate
the bridging function. The bridging function has been
switched on and the back power level setting shows
the bridge . Operation is carried out with the front
power level setting and the sensor field.
3. Activate the front and back cooking zones
simultaneously again or switch the hob off to
deactivate the bridging function. The cooking zones
are split into 2 separate zones again.
Please note
The roaster or the pot will need to cover at least half of
the cooking zones used in order to be recognised by the
pan recognition device!
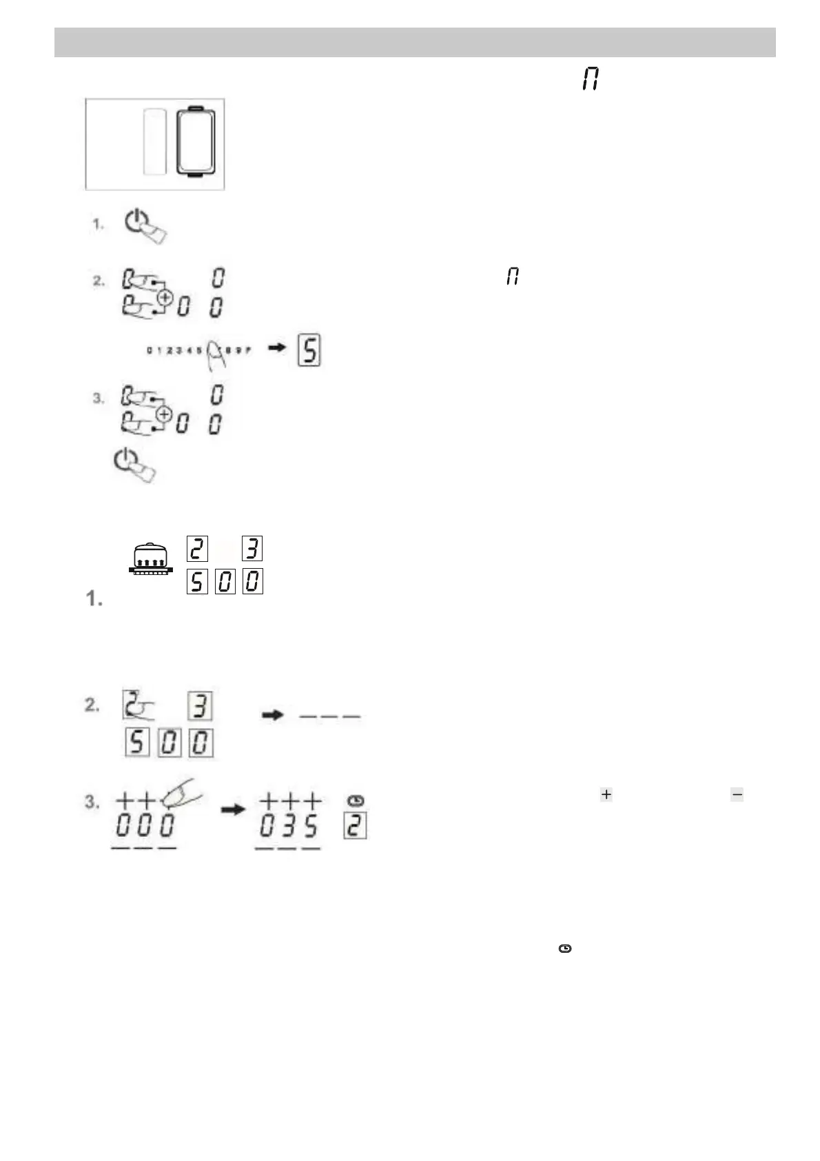
5.18 Cooking zones timer
Cooking zone timers can be used to switch a cooking
zone OFF automatically after the set time has run out.
It can be adjusted within a range of 1 min to 1 h 59 min.
During the time is running, the cooking zone can be
operated normally, i.e. changing the cooking level is
possible.
Each cooking zone has an independent timer, i.e. an
individual time selection per cooking zone is possible.
1. Precondition: Pot is placed on the corresponding
zone and a cooking level has been set to this
cooking zone
2. Select the corresponding cooking zone. Timer
indication displays shows “---“. Press the timer
displays.
3. Then use the Plus key or the Minus key to
set the required time.
Left position: hours
Centre position: every 10 minutes
Right position: every minute
After a few seconds, the entry will be taken over
and the time will be running.
The timer symbol of the cooking zone lights up.
The timer starts counting backwards. If it has reached
0, a signal tone will be emitted; the timer displays show

Table of Contents

Other manuals for Opera PRIMA