EasyManua.ls Logo

Optimus Compact - 5 Conexión de Periféricos al Bus Can

Optimus Compact
68 pages
Print Icon
To Next Page IconTo Next Page
To Next Page IconTo Next Page
To Previous Page IconTo Previous Page
To Previous Page IconTo Previous Page
Loading...
COMPACT versión 5.2.002 ESP
12
Matriz de audio modular
con conexión IP
COMPACT
4ETH
R + D Department
Adaptador
externo de
velocidad de bus
CAN (500 kbit/s -
33,333 kbit/s)
modelo
CAN-AV
(A465AV)
Figura 15
Adaptador
interno
Adaptador
interno
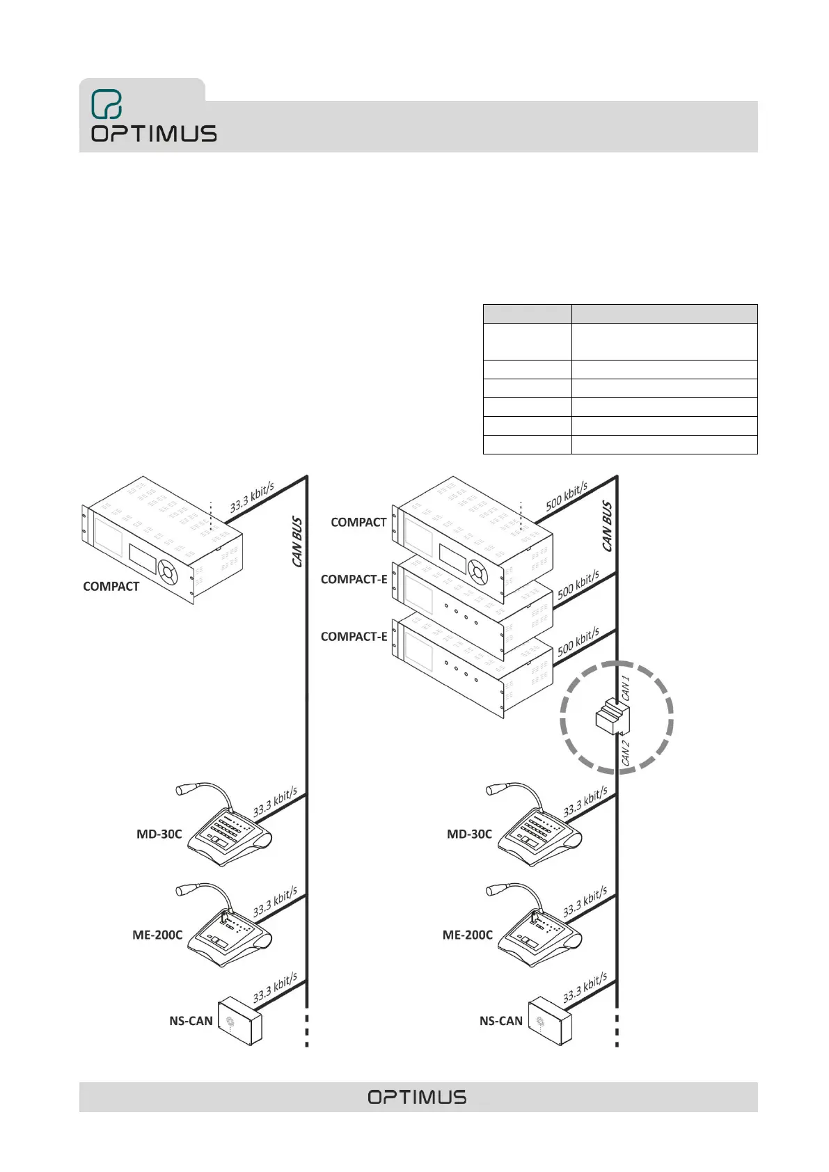
5. CONEXIÓN DE PERIFÉRICOS AL BUS CAN
El equipo COMPACT se comunica con las unidades COMPACT-E y IF-7P4/0E a través de un bus CAN. La velocidad de transmisión del
flujo de datos entre el equipo COMPACT y las unidades de expansión COMPACT-E y IF-7P4/0E es de 500 kbit/s (velocidad por defecto).
Con el resto de periféricos CAN de la instalación (pupitres MD-30C, ME-200C, NS-CAN…) y gracias a un adaptador de velocidad interno
que el equipo COMPACT lleva incorporado, la velocidad de transmisión es de 33,333 kbit/s. Esta velocidad más baja posibilita alcanzar
mayores distancias en la conexión entre los periféricos y la unidad
COMPACT. El adaptador permite también aislar galvánicamente la
COMPACT de los equipos de la instalación, protegiéndola de posibles
problemas de cableado en la instalación. Para comunicar con estos
periféricos se debe configurar la velocidad de transmisión de la unidad
COMPACT a 33,333 kbit/s, tal y como explica el apartado 5.1.
En instalaciones donde coincidan en un mismo bus CAN equipos
COMPACT-E o IF-7P4/0E con otros periféricos CAN (MD-30C, ME-200C,
NS-CAN…) es necesario colocar el adaptador de velocidad externo
modelo CAN-AV (código A465AV) para que concuerde la velocidad de
transmisión entre equipos.
EQUIPO
VELOCIDAD de TRANSMISIÓN
COMPACT
33,333 kbit/s o 500 kbit/s
(adaptador interno incorporado)
COMPACT-E
500 kbit/s
IF-7P4/0E
500 kbit/s
MD-30C
33,333 kbit/s
ME-200C
33,333 kbit/s
NS-CAN
33,333 kbit/s

Table of Contents

Other manuals for Optimus Compact

Related product manuals