EasyManua.ls Logo

Optimus Compact - 5.1. CAN Bus Transmission Speed Configuration

Optimus Compact
68 pages
Print Icon
To Next Page IconTo Next Page
To Next Page IconTo Next Page
To Previous Page IconTo Previous Page
To Previous Page IconTo Previous Page
Loading...
COMPACT version 5.2.002 ENG
12
Modular audio matrix
with IP connection
COMPACT
4ETH
R + D Department
External bus CAN
speed adapter
(500 kbit/s -
33.333 kbit/s)
model
CAN-AV
(A465AV)
Figure 15
Internal speed
adapter
Internal speed
adapter
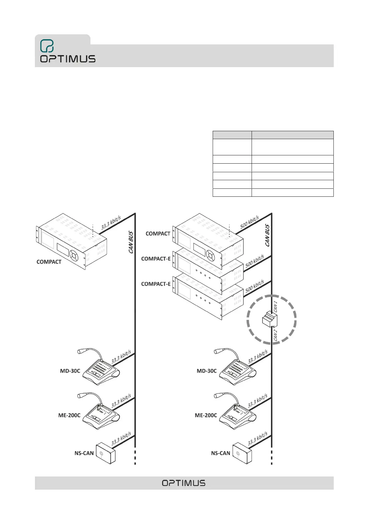
5. CONNECTION OF PERIPHERALS TO THE CAN BUS
The COMPACT device communicates with the COMPACT-E and IF-7P4/0E units via a CAN bus. The data flow rate between the
COMPACT device and the COMPACT-E and IF-7P4/0E expansion units is 500 kbit/s (default rate).
With the other CAN peripherals in the installation (MD-30C, ME-200C, NS-CAN...) and thanks to an internal speed adapter
incorporated in the COMPACT unit, the transmission speed is 33.333 kbit/s. This lower speed makes it possible to reach greater
distances in the connection between the peripherals and the COMPACT
unit. The adapter also makes it possible to galvanically isolate the
COMPACT from the equipment in the installation, protecting it from
possible wiring problems in the installation. To communicate with these
peripherals, the transmission speed of the COMPACT unit must be set to
33.333 kbit/s, as explained in section 5.1.
In installations where COMPACT-E or IF-7P4/0E units coincide on the
same CAN bus with other CAN peripherals (MD-30C, ME-200C, NS-
CAN...) it is necessary to install the external CAN-AV model speed
adapter (code A465AV) to match the transmission speed between units.
Model
SPEED TRANSMISSION
COMPACT
33.333 kbit/s o 500 kbit/s (built-
in speed adapter)
COMPACT-E
500 kbit/s
IF-7P4/0E
500 kbit/s
MD-30C
33.333 kbit/s
ME-200C
33.333 kbit/s
NS-CAN
33.333 kbit/s

Table of Contents

Other manuals for Optimus Compact

Related product manuals