EasyManua.ls Logo

Oval EL1810 - Wiring and Connections; Wiring Connections; External Connection Terminal Block Identification

Oval EL1810
32 pages
Print Icon
To Next Page IconTo Next Page
To Next Page IconTo Next Page
To Previous Page IconTo Previous Page
To Previous Page IconTo Previous Page
Loading...
E-215-7-E
7
5. WIRING
NOTE: See “WIRING” in the pulse generator instruction manual.
5.1 Cables for Field Wiring
(1) For flowmeter input signal cable, electrostatically shielded, polyethylene insulated, vinyl-sheathed
control cables (CVES, 1.25 to 2mm
2
, 2- or 3-conductor), or equivalent, must be used.
For output signal cables, insulated, vinyl-sheathed cables (CVV, CVS … JIS C 3401) are suggested.
(2) Cable shields must be connected to terminal “G” of the controller. At the probe end, leave the shield
wire end unprepared.
5.2 Wiring Connections
(1) Conduit work is suggested for eld wiring.
NOTE: In conduit work, use separate conduit for power cables and signal cables in order to minimize
the possibility of stray current pickup.
(2) Route cables sufciently away from other power lines or power circuits, if any, to reduce the possibility
of inductive interference to a minimum.
(3) Use crimp-style terminal lugs for connections and ensure good electrical contact. Connection terminals
are found at rear of the controller (Fig. 5.1).
(4) In applications where an inductive load (valve, counter, etc.) is driven, do not fail to use a surge
suppressor (see Fig. 5.3).
(5) Give a 30-centimeter approx. allowance to the wiring harness to allow internal assembly withdrawal for
servicing.
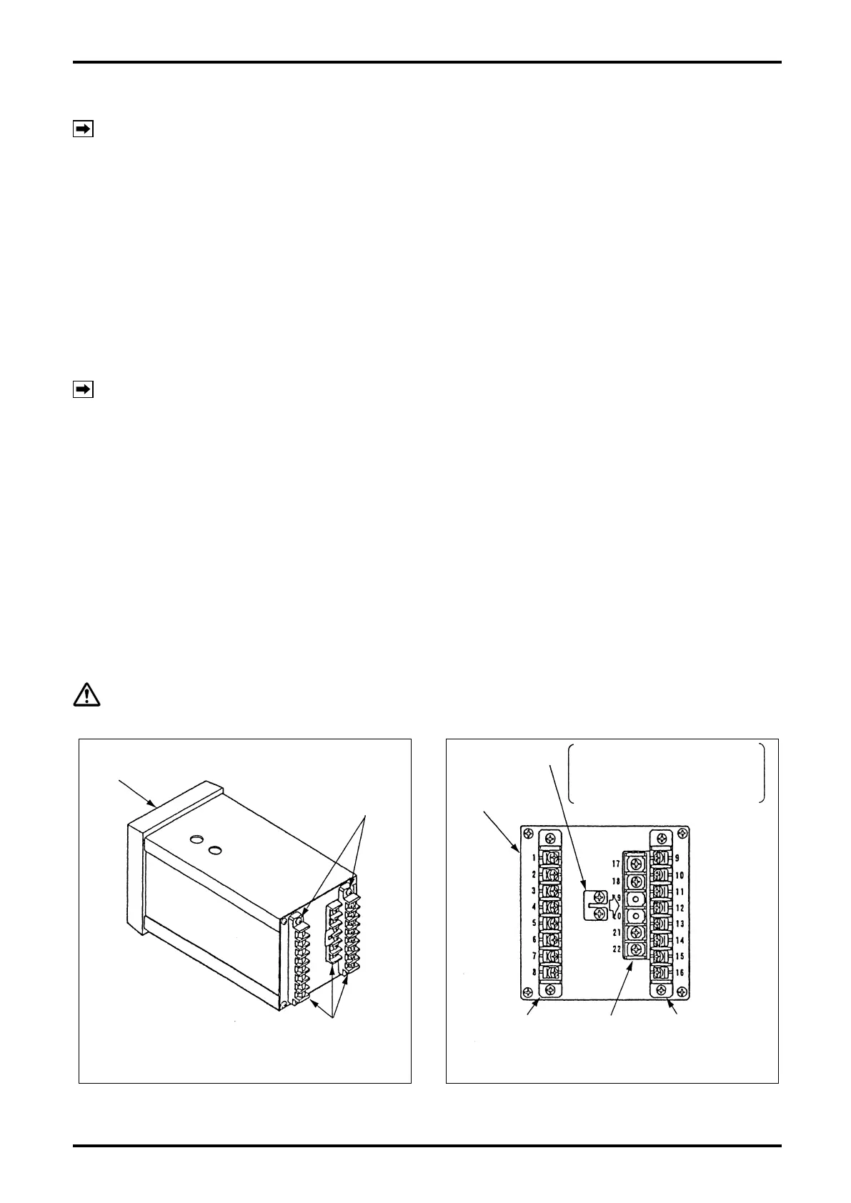
5.3 Identifying the External Connection Terminal Block
At the rear of the controller, terminal block (terminal Nos. 17-22) secured to the output board and removable
terminals block (terminals Nos. 1-8, 9-16) secured with four screws are found.
CAUTION: Before making wiring connections, verify the validity of flowmeter (pulse generator)
and receiving instrument combination by referring to their product No., tag No., etc.
Front panel
Terminal block
fitting screws
Terminal block for
EXT. connections
Fig. 5.1
Fig. 5.2
Shorting strip If remote operate input STOP is
unused, short out terminals
STOP (19) and COM (20) with
this strip.
Terminal
Nos. 1-8
Rear panel
Terminal
Nos. 17-22
Terminal
Nos. 9-16

Table of Contents