EasyManua.ls Logo

Palazzetti Ecofire - Page 108

Palazzetti Ecofire
Print Icon
To Next Page IconTo Next Page
To Next Page IconTo Next Page
To Previous Page IconTo Previous Page
To Previous Page IconTo Previous Page
Loading...
108/164 cod. 00 477 1480 - 12/2012 - Palazzetti - PN - Italy
INSTALLATION
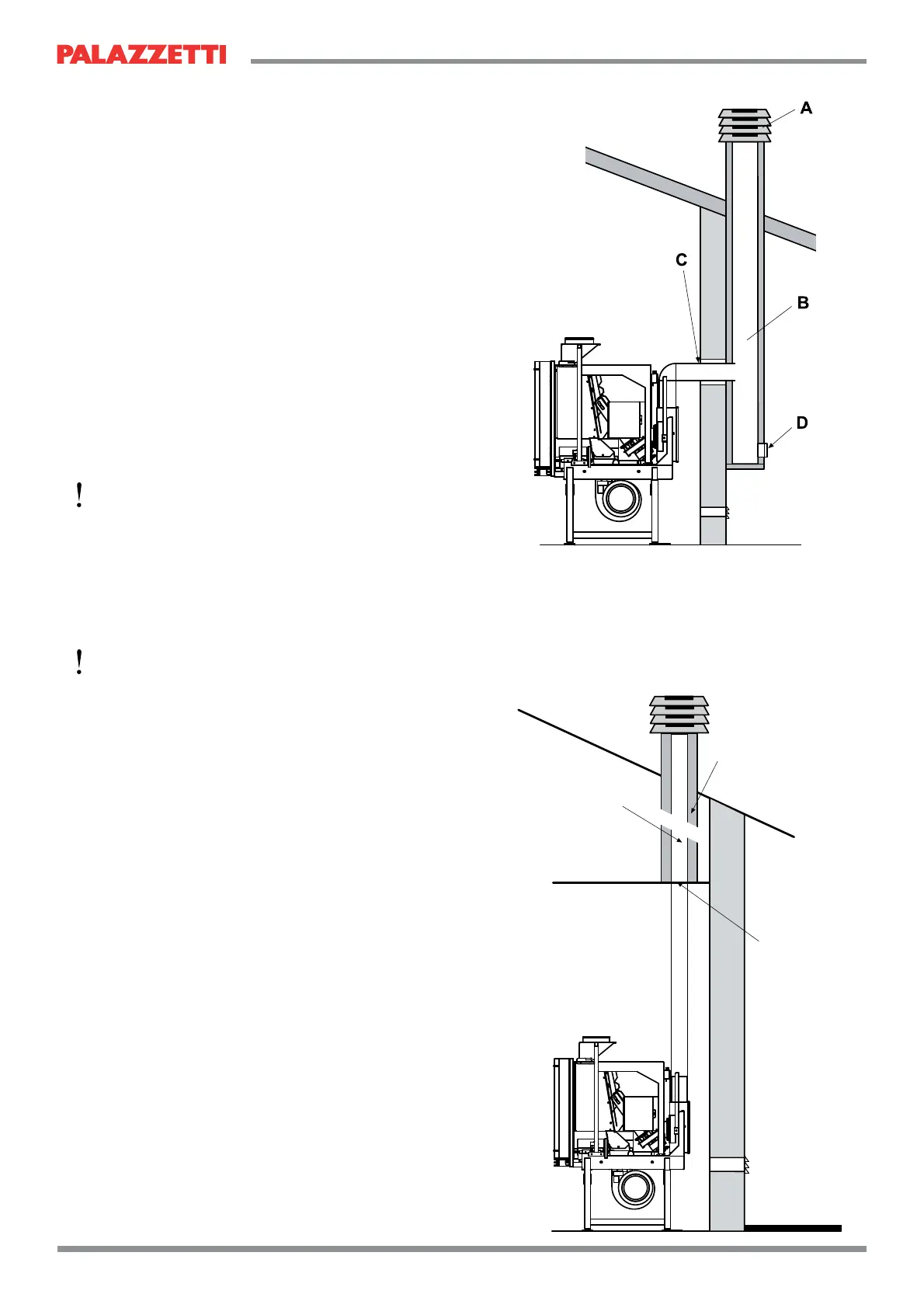
5.4.1 Evacuation par le toit a travers un conduit
traditionnel
Les dimensions et les matériels de construction
d’un conduit d’évacuation de la fumée doivent être
conformes aux normes UNI 10683- EN 1856-1-2-
EN 1857- EN 1443- EN 13384-1-3- EN 12391-1.
Des conduits DELABRES, construits avec des

etc. à la surface interne rêche et poreuse) sont hors
la loi et nuisent au bon fonctionnement du poêle.
L’évacuation de la fumée peut s’effectuer à travers
un conduit traditionnel (Fig. 5.4.2), à condition de
respecter les règles suivantes:
- vérifier l’état du conduit, s’il est vieux, il
est conseillé de le tuber avec un tube en
acier opportunément isolé (laine de roche,
vermiculite).
- la fumée peut s’évacuer directement dans
un conduit à condition qu’il ait une section
maximale de 15 × 15 cm ou un diamètre 15 cm
et qu’il soit visitable.
Si la section du conduit est plus grande, il faudra le
tuber avec un tube en acier (d’un diamètre adapté à
la longueur du parcours) opportunément isolé (Fig.
5.4.3).

maçonnerie.

(poutres en bois par exemple) et, quoi qu’il en soit,
les isoler avec un matériau ignifuge.
Si les tubes doivent être passés à travers des toits
ou des cloisons en bois, il est conseillé d’utiliser
les kits prévus à cet effet, homologués et que l’on
trouve dans le commerce.
A) Sortie de toit antivent
B) Section maximale de 15 × 15 cm ou Ø 15 cm
et hauteur maximale de 4 - 5 m
C) Jointoiement
D) Regard.
1) Vermiculite et/ou laine de roche
2) Tube en acier
3) Panneau de fermeture
1
3
2
Fig. 5.4.2
Fig. 5.4.3

Table of Contents

Related product manuals