EasyManua.ls Logo

Palazzetti Ecofire - Applicazione E Collegamenti Elettroventilatore

Palazzetti Ecofire
Print Icon
To Next Page IconTo Next Page
To Next Page IconTo Next Page
To Previous Page IconTo Previous Page
To Previous Page IconTo Previous Page
Loading...
cod. 00 477 1480 - 12/2012 - Palazzetti - PN - Italy 17/164
ITALIANO
INSTALLAZIONE
ambiente le prese d’aria A e B devono essere
eseguite lateralmente al rivestimento.
Nel caso in cui si dovessero riscaldare due ambienti
le prese d’aria A deve essere eseguita lateralmente
al rivestimento e la presa d’aria B deve essere
collegata al secondo ambiente.
E’ proibito collegare la presa d’aria B agli ambienti
cucina, bagno e camera da letto.
In questa tipologia di installazione la presa d’aria
esterna V non è necessaria.
In relazione alla soluzione adottata, durante la
prova di installazione a secco è opportuno segnare
sia sulla parete esterna che sul rivestimento la
posizione delle prese d’aria.
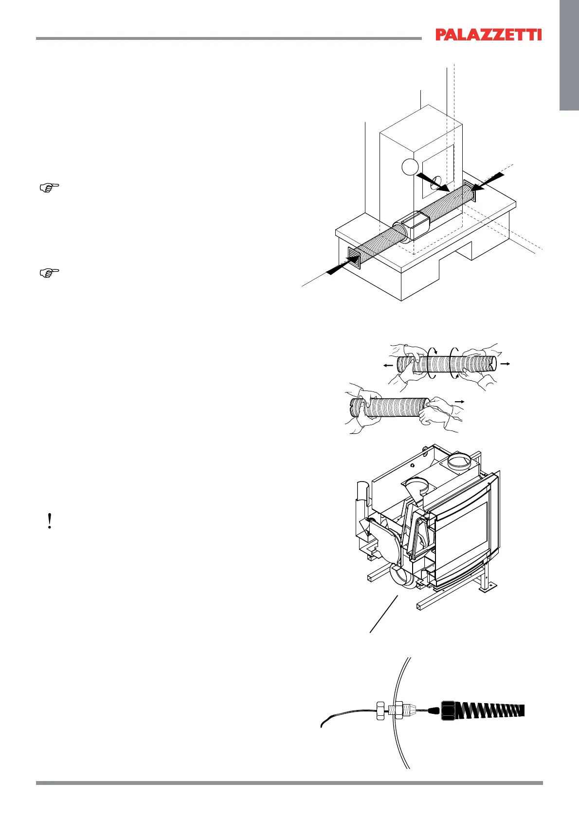
6.3 APPLICAZIONE E COLLEGAMENTI
ELETTROVENTILATORE
Solo per il modello canalizzato
6.3.1 Preparazione dei tubi


Accompagnare la trazione con un movimento
rotatorio delle due estremità l’una in senso opposto
all’altra.
Tagliare il tubo con un coltello o una forbice alla
lunghezza desiderata.
6.3.2 Ventilatore aria
Il ventilatore aria (1) è collocato nella parte
posteriore bassa della stufa (Fig. 6.3.2).
6.3.3 Collegamento del ventilatore

dell’elettroventilatore; sigillarli con il silicone e

Stuccare con malta i collegamenti tra i tubi e la
muratura.
II circuito di aspirazione dell’aria al ventilatore deve
essere perfettamente sigillato.
Se il circuito di aspirazione non è perfettamente
sigillato, all’accensione del ventilatore si provoca
una forte depressione con la possibilità di richiamare
fumo dalla camera di combustione ed immetterlo
nel circuito di mandata dell’aria calda con la
possibilità di fuoriuscita di fumo dalle bocchette.
6.3.4 Inserimento sonda ambiente
(Solo  da inserimento canalizzato)
La sonda va installata sul tubo corrugato in alluminio
che preleva l’aria dall’ambiente interno a 30 cm di
distanza della bocchetta d’entrata o dall’entrata del
ventilatore aria.

1) svitare il supporto sonda (a) dal montante
posteriore della stufa
2) forare uno dei due tubi corrugati di ripresa aria
del ventilatore (b);
3) rimontare la sonda con il supporto sonda, sul

Fig. 6.2.3
A
B
C
Fig. 6.3.1
Fig. 6.3.2
1
Fig. 6.3.3
a
b

Table of Contents

Related product manuals