EasyManua.ls Logo

Palazzetti Ecofire - Page 33

Palazzetti Ecofire
Print Icon
To Next Page IconTo Next Page
To Next Page IconTo Next Page
To Previous Page IconTo Previous Page
To Previous Page IconTo Previous Page
Loading...
cod. 00 477 1480 - 12/2012 - Palazzetti - PN - Italy 33/164
ITALIANO
USO E MANUTENZIONE
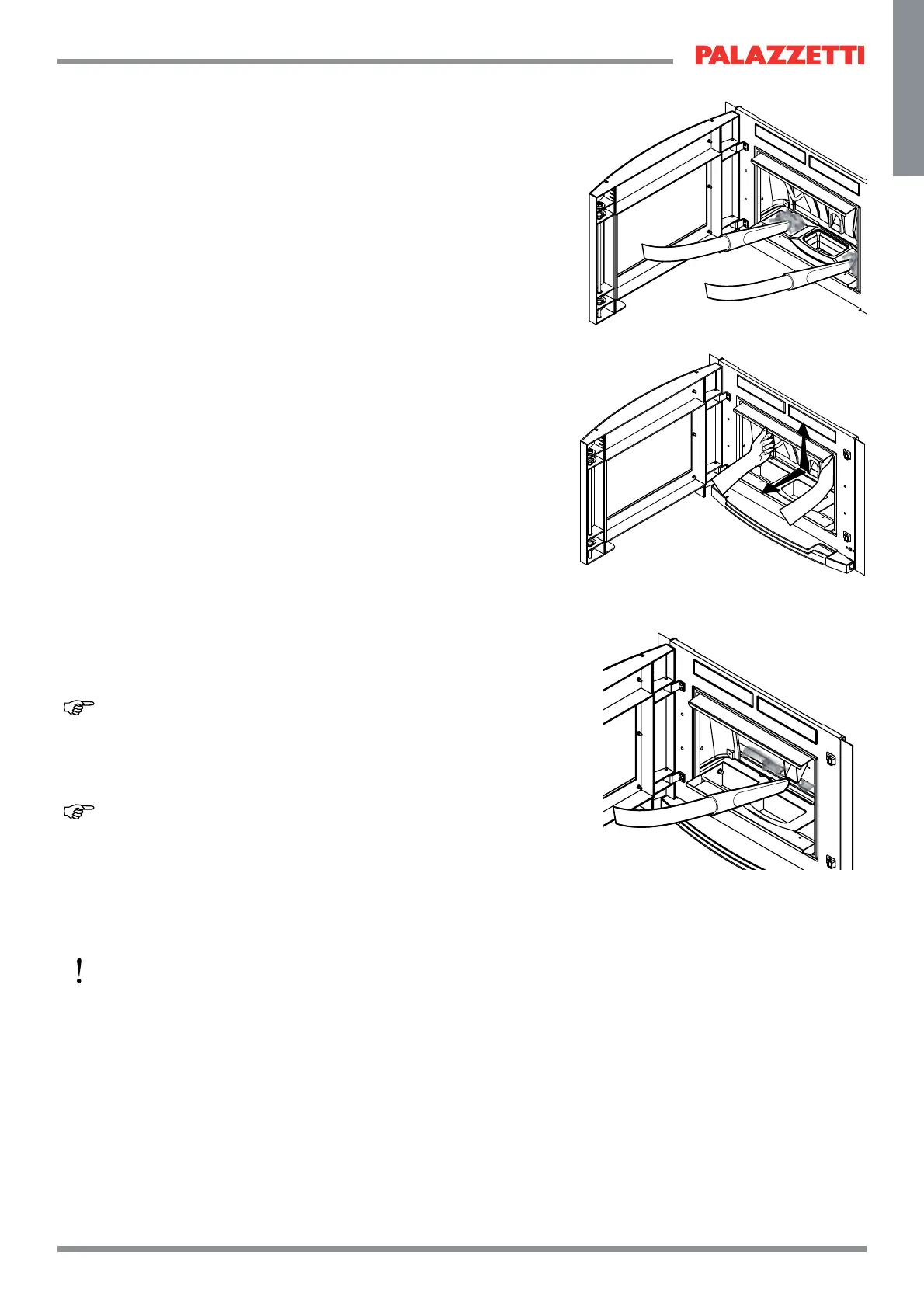
13.3.2 Pulizia del vano raccogli cenere
(PER I MODELLI DOTATI DI VANO RACCOGLI CENERE)
La pulizia del vano raccogli cenere va eseguita ogni
giorno o quando necessario.
Aprire la portina del focolare e aspirare con un
apposito aspiracenere l’accumulo di cenere
depositatosi nel vano raccogli cenere lateralmente
al braciere (Fig.15.6).
13.3.3 Pulizia del vetro
Si effettua con un panno umido o con della carta
inumidita e passata nella cenere. Strofinare
      
dei detergenti adatti per la pulizia dei forni da
cucina. Non pulire il vetro durante il funzionamento
della stufa e non utilizzare spugne abrasive. Non
inumidire la guarnizione della portina perché
potrebbe deteriorarsi.
13.3.4 Pulizia caldaia
Eseguire due volte a stagione una pulizia completa
della CALDAIA rimuovendo a freddo lo schienale di
fondo in ghisa. Per estrarre lo schienale dopo aver
estratto il braciere in ghisa, procedere come segue:
1) sollevare la ghisa in modo che esca dagli
appositi incastri posti nella parte inferiore
(alcuni modelli sono dotati di maniglie per
agevolarne l’estrazione Fig.15.7);
2) inclinare la parte inferiore della ghisa verso la
portina ed estrarla completamente.
3) asportare con un aspiratore eventuali accumuli
di cenere o fuliggine depositati sulla parete
dietro lo schienale (Fig.15.8)
La presenza di condensa è indice di eventuali

dei fumi o di uso di pellet di scarsa qualità. Si
consiglia di individuare le possibili cause per
ripristinare il corretto funzionamento del prodotto.
Al termine della pulizia assicurarsi di inserire tutti gli
elementi estratti, esattamente nelle loro rispettive
sedi.
13.3.5 Pulizia esterna
La pulizia della parte esterna della stufa deve
essere effettuata solo con un panno asciutto non
abrasivo.
Non utilizzare detersivi e non effettuare la pulizia a
stufa calda.
1
2
Fig.15.6
Fig.15.7
Fig.15.8

Table of Contents

Related product manuals