EasyManua.ls Logo

Palazzetti Ecofire - Flue Gas Exhaust; Discharge through roof using a traditional chimney

Palazzetti Ecofire
Print Icon
To Next Page IconTo Next Page
To Next Page IconTo Next Page
To Previous Page IconTo Previous Page
To Previous Page IconTo Previous Page
Loading...
44/164 cod. 00 477 1480 - 12/2012 - Palazzetti - PN - Italy
INSTALLATION
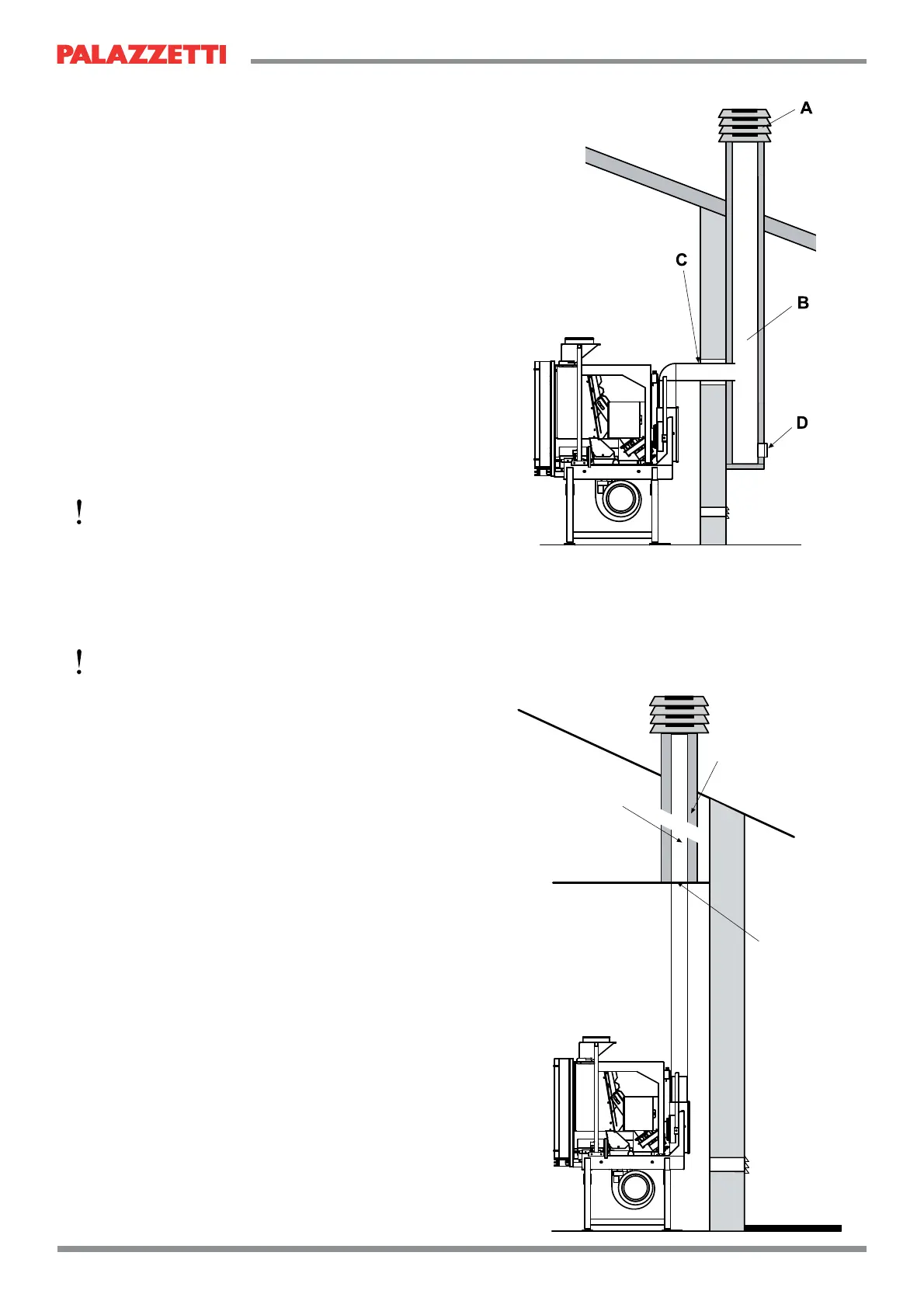
5.4.1 Discharge through roof using a traditional


be made in accordance with standards UNI 10683
- EN 1856-1-2 - EN 1857 - EN 1443 - EN 13384-
1-3 - EN 12391-1 both as regards the dimensions
and the construction materials used.
DAMAGED chimneys made from unsuitable
material (asbestos cement, galvanised steel,
etc.... with a rough and porous inside surface) are
prohibited by law and affect proper stove operation.

chimney (Fig. 5.4.2) as long as the following rules
are observed:
- check the conditions of the chimney; old
chimneys should be renovated by introducing
steel piping with suitable insulation (rock wool,
vermiculite).
       
the chimney only if the latter has a maximum
cross-section of 15 × 15 cm or diameter of 15
cm and features an inspection opening.
For larger chimneys, suitably insulated steel
pipes need to be inserted on the inside (diameter
according to the length) (Fig. 5.4.3).
Makes sure connections to brick chimneys are
suitably sealed.
Avoid contact with combustible materials (e.g.
wooden beams) and in any case insulate these

       

available on the market.
A) Chimney pot with wind protection
B) Maximum cross-section of 15 × 15 cm or diameter
of 15 cm and maximum height of 4- 5 metres
C) Seal
D) Inspection
1) Vermiculite and/or rock wool.
2) Steel pipes.
3) Closure panel.
1
3
2
Fig. 5.4.2
Fig. 5.4.3

Table of Contents

Related product manuals