EasyManua.ls Logo

Palazzetti Ecofire - Page 76

Palazzetti Ecofire
Print Icon
To Next Page IconTo Next Page
To Next Page IconTo Next Page
To Previous Page IconTo Previous Page
To Previous Page IconTo Previous Page
Loading...
76/164 cod. 00 477 1480 - 12/2012 - Palazzetti - PN - Italy
INSTALLATION
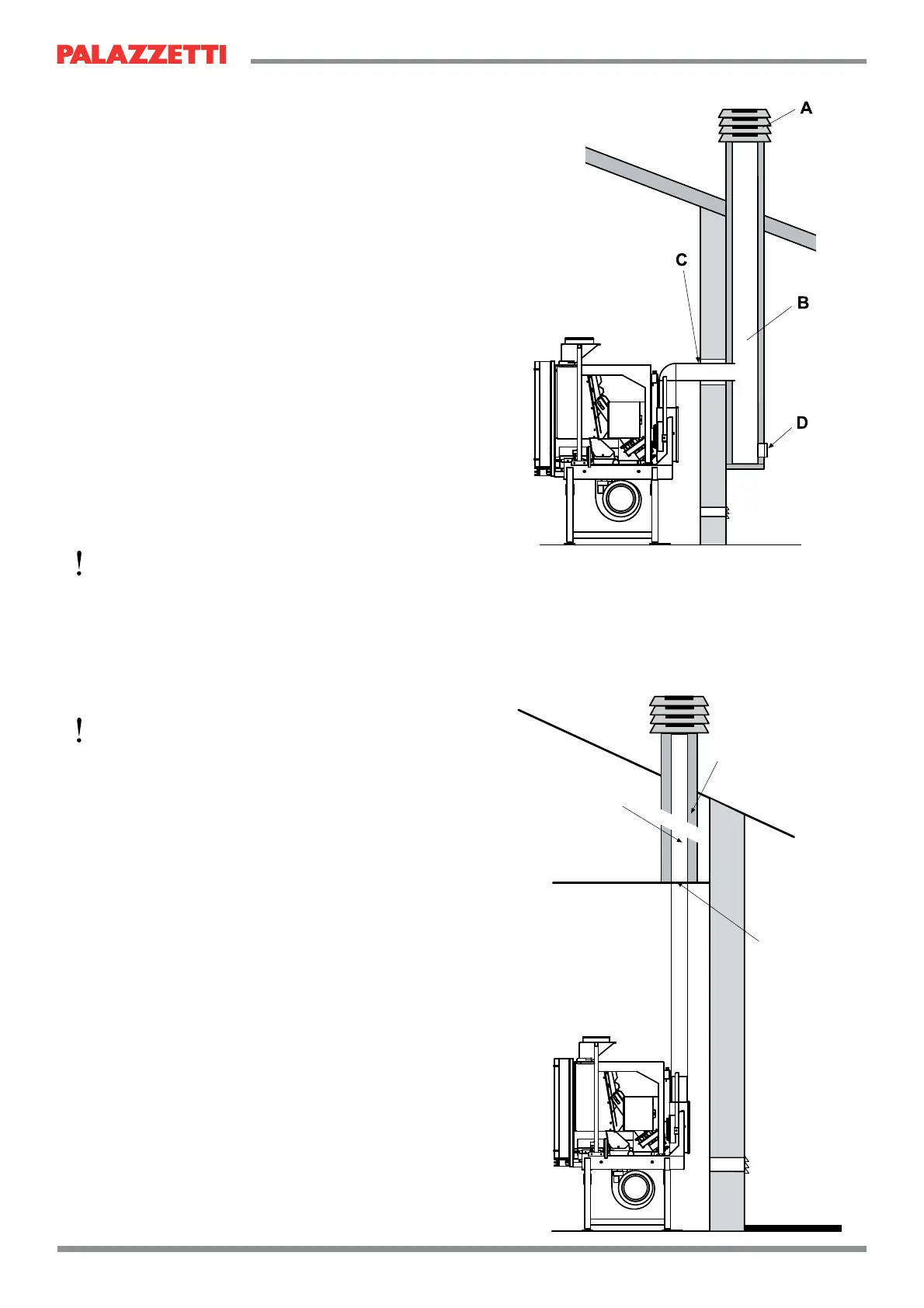
5.4.1 Abführung über das dach mit
traditionellem schornstein
Der Schornstein für den Rauchabzug muss sowohl
hinsichtlich der Maße als auch in Bezug auf das
Baumaterial gemäß den Normen UNI 10683- EN
1856-1-2- EN 1857- EN 1443- EN 13384-1-3- EN
12391-1 ausgeführt werden.
BAUFÄLLIGE, mit ungeeignetem Material
(Asbestzement, verzinkter Stahl usw. …, mit

sind gesetzlich verboten und beeinträchtigen den
einwandfreien Betrieb des Ofens.
Der Rauchabzug über einen traditionellen
Schornstein (Abb. 5.4.2) ist möglich, wenn folgende
Regeln befolgt werden:
- Den Wartungszustand des Schornsteins
überprüfen; bei einem alten Schornstein ist
eine Sanierung durch Einführung eines (mit
Gesteinswolle oder Vermiculit) isolierten
Stahlrohrs empfehlenswert.
- Der Rauch kann nur dann direkt in den
Schornstein geleitet werden, wenn dieser
einen Querschnitt von max. 15 × 15 cm
bzw. Durchmesser 15 cm hat und mit einer
Inspektionsklappe ausgestattet ist.
Wenn der Schornstein einen größeren Querschnitt
hat, muss er mit einem angemessen isolierten

Leitungsverlauf) (Abb. 5.4.3).
Sicherstellen, dass der Anschluss am gemauerten
Schornstein gut abgedichtet ist.
Jeder Kontakt mit brennbarem Material (z.B.

mit feuerfestem Material isolieren.
Wenn Rohre durch Holzdächer oder -wände
   
der hierzu vorgesehenen, im Handel erhältlichen
Durchführungssets.
A) Windschutz-Schornsteinkopf
B) Max. Querschnitt 15 x 15 cm bzw. Durchmesser
15 cm und max. Höhe 4-5 Meter
C) Abdichten
D) Inspektion
1) Vermiculit und/oder Gesteinswolle.
2) Stahlrohr.
3) Verschlusspaneel.
1
3
2
Fig. 5.4.2
Fig. 5.4.3

Table of Contents

Related product manuals