EasyManua.ls Logo

Panasonic AW-E750E - Page 187

Panasonic AW-E750E
412 pages
Print Icon
To Next Page IconTo Next Page
To Next Page IconTo Next Page
To Previous Page IconTo Previous Page
To Previous Page IconTo Previous Page
Loading...
- 22 (F) -
FRANÇAIS
[*]: Obtenu localement
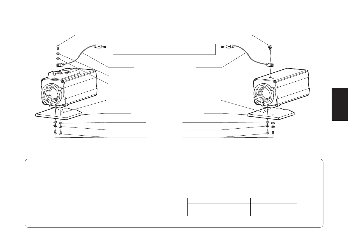
p Exemple de montage de la caméra sur une potence ou un pied d’un autre fabricant
Fixer l’extrémité du fil sur les boulons d’ancrage M6 en
serrant l’écrou, ou le fixer en serrant les boulons M6.
Vis de montage pour fil (M4) (fourni)
Fil antichute (vendu séparément)
Potence ou pied d’un autre fabricant [*]
Trous à vis de montage de la caméra vidéo
Rondelles plates [*]
Rondelle plate (fourni)
Rondelle élastique (fourni)
Rondelles élastiques [*]
Vis de montage pour fil (fourni)
(Vis en pouces: 1/4-20UNC)
AW-E750/AW-E655
AW-E650/AW-E350
( La méthode de montage illustrée ci-dessus
correspond à l’AW-E650 et l’AW-E350.
La même méthode convient aux deux modèles.)
Vis de montage [*]
(Vis en pouces: 1/4-20UNC)
Remarques
p Lors de l’installation de la potence de fixation ou lors de la fixation
d’une extrémité du fil antichute au plafond ou sur un mur, utiliser
impérativement les boulons d’ancrage, et s’assurer que la force
d’arrachage de la surface d’installation est au moins dix fois
supérieure au poids total de tous les appareils installés, y compris la
potence de fixation, la caméra, l’objectif et les câbles.
p Quand la caméra est installée sur un pied également, utiliser
impérativement la vis du pied ou un moyen similaire pour prévenir une
chute de la caméra.
p En cas d’installation sur une surface située au-dessus de la
caméra, ne pas obstruer les orifices de ventilation correspondant au
ventilateur de refroidissement.
p S’assurer que le poids total, y compris la potence de fixation, la
caméra, l’objectif et les câbles, n’excède pas 8 kg.
p Le fil antichute doit être installé d’une manière telle que la distance de
chute ne dépasse pas 150 mm.
p Serrer les vis de montage selon les couples de serrage indiqués dans
le tableau ci-dessous, puis vérifier que l’ensemble est solidement fixé
et qu’il n’y a pas de jeu.
p
Ne pas utiliser un tournevis à frapper qui pourrait endommager les vis.
Vis Couple de serrage
Vis de montage (M4) 1,5 N • m (15 kgf • cm)
Vis de montage (Vis en pouces) 2,0 N • m (20 kgf • cm)

Table of Contents

Related product manuals