EasyManua.ls Logo

Panasonic DMR-EZ47VP

Panasonic DMR-EZ47VP
122 pages
To Next Page IconTo Next Page
To Next Page IconTo Next Page
To Previous Page IconTo Previous Page
To Previous Page IconTo Previous Page
Loading...
Item FL display Key operation
Mode name Description Front Key
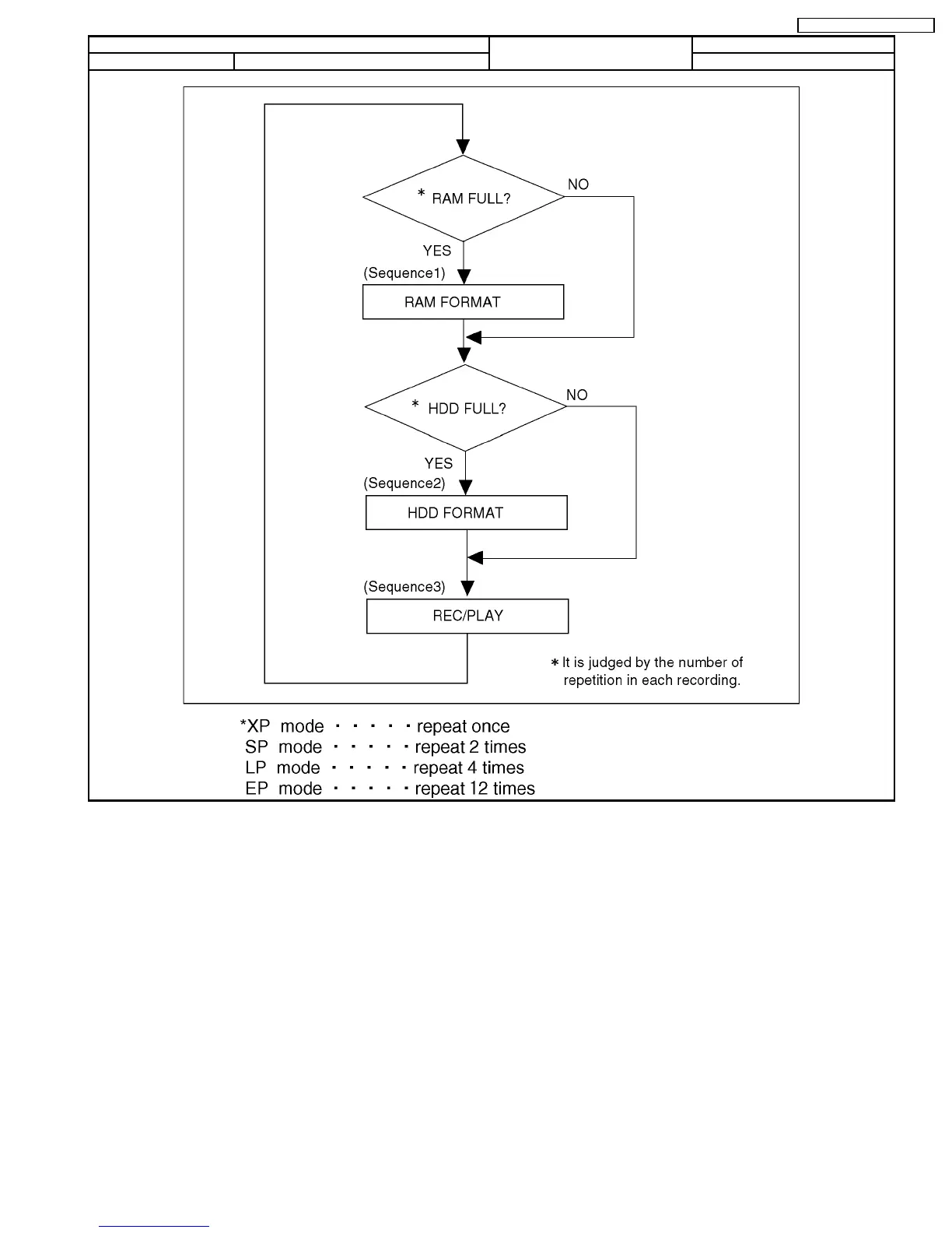
Aging Contents (Example):
19
DMR-EZ47VP / DMR-EZ475VP

Table of Contents

Related product manuals