EasyManua.ls Logo

Panasonic KX-TG1283JXS

Panasonic KX-TG1283JXS
93 pages
To Next Page IconTo Next Page
To Next Page IconTo Next Page
To Previous Page IconTo Previous Page
To Previous Page IconTo Previous Page
Loading...
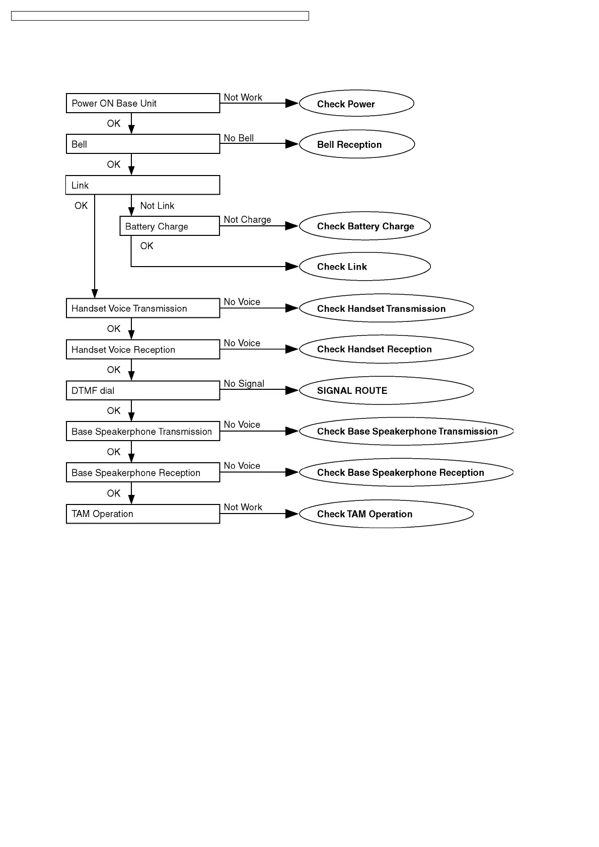
Cross Reference:
Check Power (P.19)
Bell Reception (P.26)
Check Battery Charge (P.20)
Check Link (P.21)
Check Handset Transmission (P.25)
Check Handset Reception (P.25)
SIGNAL ROUTE (P.51)
Check Base Speakerphone Transmission (P.25)
Check Base Speakerphone Reception (P.25)
Check TAM Operation (P.26)
7 TROUBLESHOOTING FLOWCHART
Flow Chart
18
KX-TG1283JXS / KX-TG1283JXT / KX-TCA122CXS / KX-TCA122CXT / KX-TCA121CXS / KX-TCA121CXT

Table of Contents

Related product manuals