EasyManua.ls Logo

Panasonic KX-TG2873BXS

Panasonic KX-TG2873BXS
103 pages
To Next Page IconTo Next Page
To Next Page IconTo Next Page
To Previous Page IconTo Previous Page
To Previous Page IconTo Previous Page
Loading...
18
KX-TG2873BXS/KX-TGA280BXS
4.5.5. Sending Signal
4.5.6. Battery Low/Power Down Detector
Circuit Operation:
“Battery Low” and “Power Down” are detected by BBIC which check the voltage from battery.
The detected voltage is as follows;
Battery Low
Battery voltage: V (Batt) < 2.3V ± 50mV
The BBIC detects this level and " " starts flashing.
Power Down
Battery voltage: V (Batt) < 2.1V ± 50mV
The BBIC detects this level and power down.
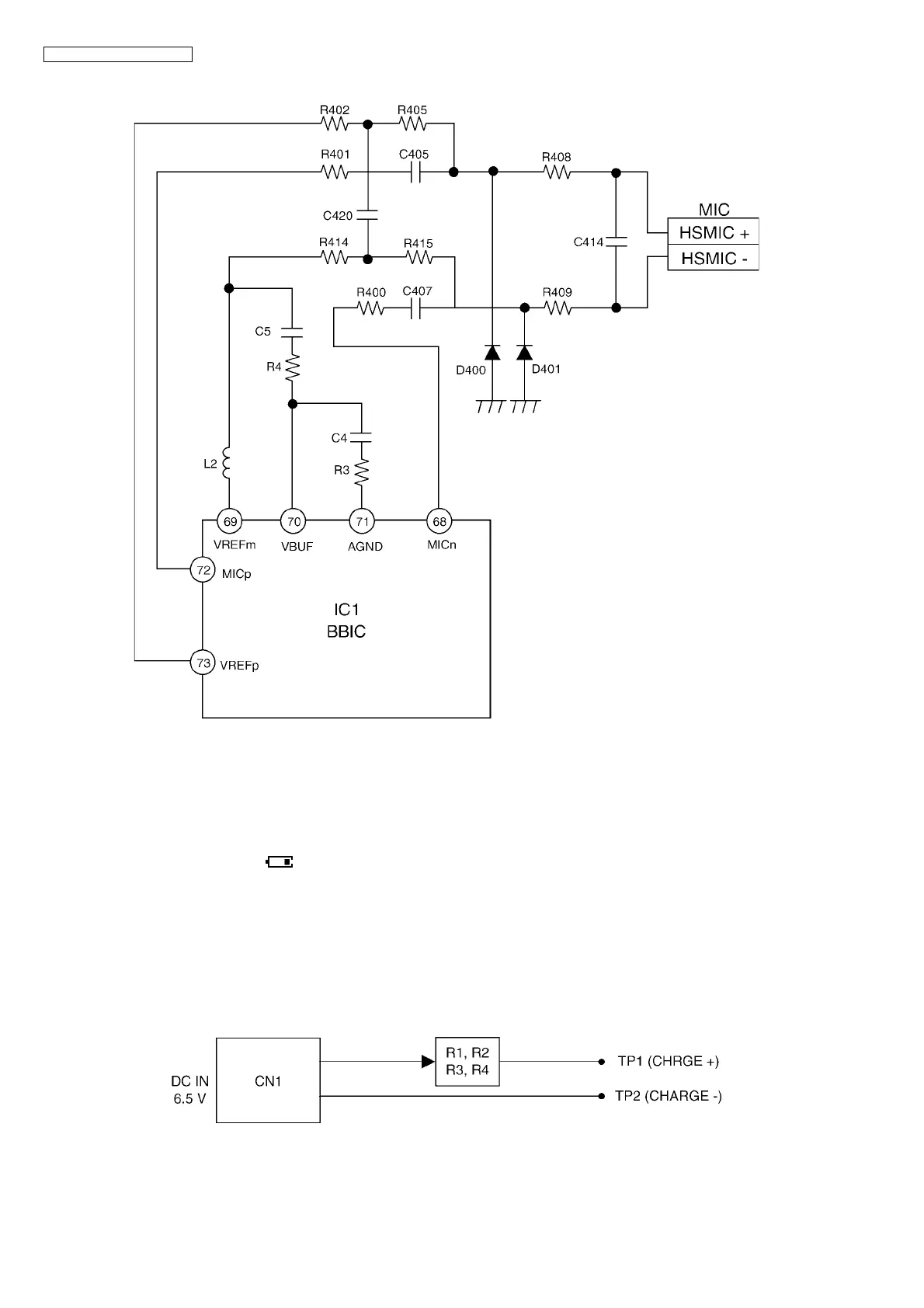
4.6. Circuit Operation (Charger Unit)
4.6.1. Power Supply Circuit
The power supply is as shown.

Table of Contents

Related product manuals