EasyManua.ls Logo

Panasonic SA-PM53E - Page 34

Panasonic SA-PM53E
209 pages
Print Icon
To Next Page IconTo Next Page
To Next Page IconTo Next Page
To Previous Page IconTo Previous Page
To Previous Page IconTo Previous Page
Loading...
9.4. Disassembly of Side Panel L & R
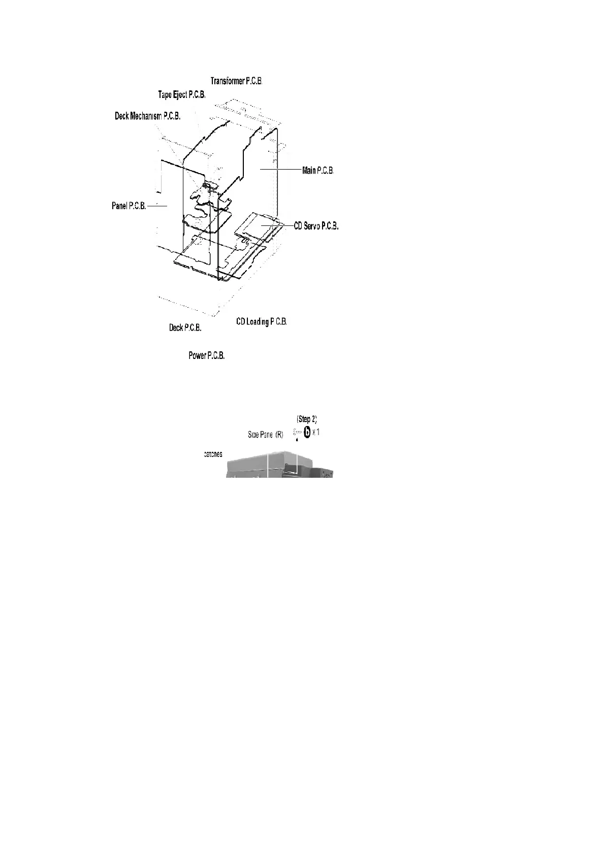
- Disassembly of Side Panel (R)
Step 1 : Remove 5 screws from the side panel (R).
Step 2 : Remove 1 screw from the corner of the side panel (R).
Step 3 : Remove the side panel as arrow shown (Be careful of the catches).
- Disassembly of Side Panel (L)
34

Related product manuals