EasyManua.ls Logo

Panasonic TH-42PY80P - Disassembly and Assembly Instructions; Component Removal Procedures

Panasonic TH-42PY80P
143 pages
Print Icon
To Next Page IconTo Next Page
To Next Page IconTo Next Page
To Previous Page IconTo Previous Page
To Previous Page IconTo Previous Page
Loading...
18
7 Disassembly and Assembly Instructions
7.1. Remove the Rear cover
1. See Service Hint (Section 3)
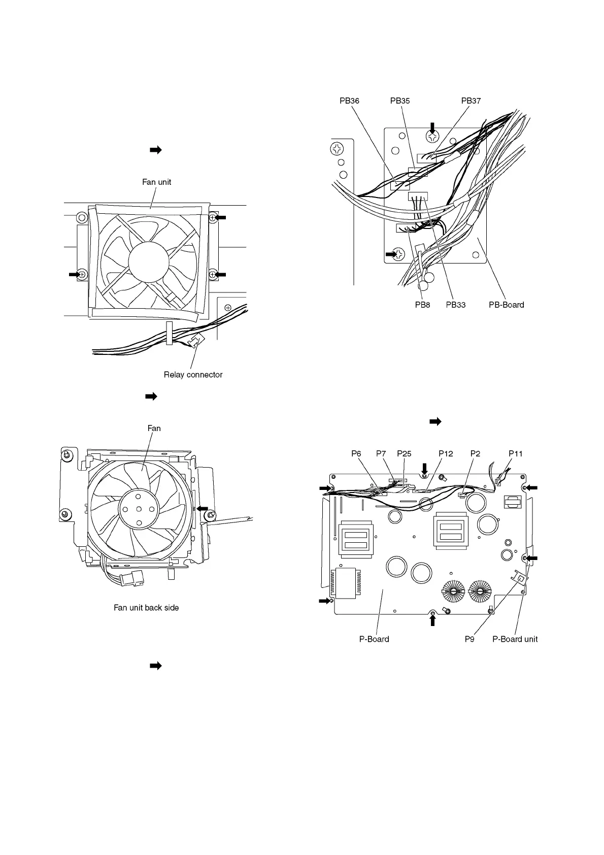
7.2. Remove the Fan unit
1. Unlock the cable clampers to free the cable.
2. Remove the screws (×3 ).
3. Remove the relay connectors and remove the Fan unit.
4. Remove the screw (×1 ) on the back side.
5. Remove the Fan.
7.3. Remove the PB-Board
1. Unlock the cable clampers to free the cable.
2. Remove the screws (×2 ).
3. Disconnect the connectors (PB8, PB33, PB35, PB36 and
PB37)
4. Remove the PB-Board.
7.4. Remove the P-Board
Caution:
To remove P.C.B. wait 1 minute after power was off for dis-
charge from electrolysis capacitors.
1. Unlock the cable clampers to free the cable.
2. Disconnect the couplers (P2, P6, P7, P9, P11, P12 and
P25).
3. Remove the screws (×6 ) and remove the P-Board
unit.

Table of Contents

Related product manuals