EasyManua.ls Logo

Panasonic VDR-D310PL - Page 199

Panasonic VDR-D310PL
304 pages
Print Icon
To Next Page IconTo Next Page
To Next Page IconTo Next Page
To Previous Page IconTo Previous Page
To Previous Page IconTo Previous Page
Loading...
Grabación
53
LSQT1150
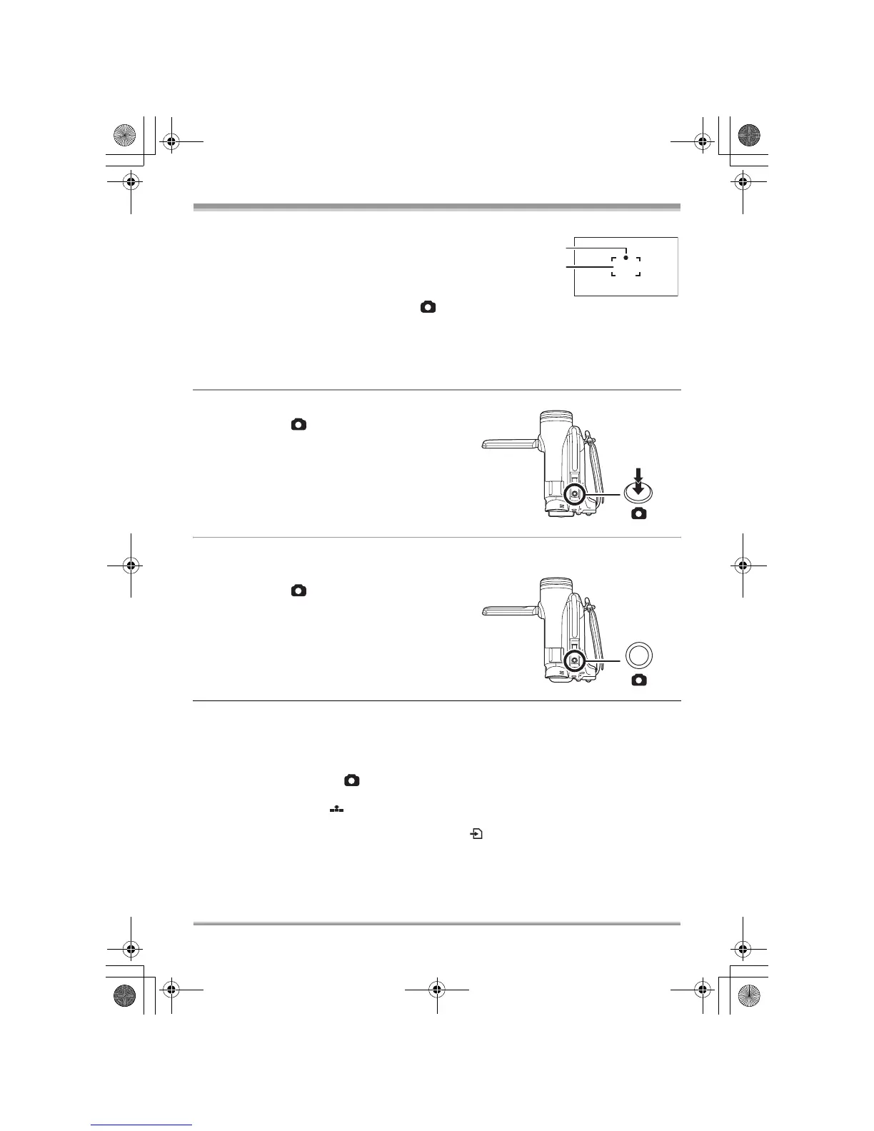
5 Presione el botón de toma
fotográfica [ ] por completo para
tomar la fotografía.
VDR-D230
4 Presione el botón de toma
fotográfica [ ].
La cámara enfoca automáticamente el objeto en el
centro de la pantalla (cuando la función de enfoque
automático está activa).
Para obtener información acerca del número de imágenes fijas que se puede grabar en una tarjeta
SD (l 152)
No es posible grabar sonido en este modo.
Si el interruptor de protección contra escritura de la tarjeta SD está ajustado a la posición LOCK, no
es posible utilizar la tarjeta para grabar.
El botón de toma fotográfica [ ] del mando a distancia no puede pulsarse hasta la mitad.
(VDR-D310)
Si se ajusta [CALIDAD] a [ ], puede aparecer ruido tipo mosaico en la imagen de reproducción,
dependiendo del contenido de la imagen.
Mientras la cámara accede a la tarjeta SD (se visualiza /lámpara de acceso encendida), no
realice las operaciones siguientes. De lo contrario, la tarjeta SD o los datos grabados podrían
dañarse.
jApagar la cámara.
jExtraer la tarjeta SD.
jAccionar el selector de modo.
A Indicador de obturador
± (La lámpara blanca parpadea.): Enfocando
¥ (La lámpara verde se enciende.): Objeto enfocado
Ausencia de indicador: No fue posible enfocar el objeto.
El indicador de obturador aparece de la siguiente forma cuando no
se presiona el botón de toma fotográfica [ ] hasta la mitad.
Utilícelo como guía para grabar.
¥ (La lámpara verde se enciende.): Cuando el objeto está enfocado y se puede grabar una
buena imagen.
± (La lámpara blanca se enciende.): El objeto está casi enfocado
B Área de enfoque
A
B
LSQT1150.book 53 ページ 2007年1月19日 金曜日 午前9時35分

Table of Contents

Related product manuals