EasyManua.ls Logo

Panasonic VDR-D310PL - Grabación de IMágenes Fijas (IMágenes Fijas JPEG) (VDR-D310;VDR-D230)

Panasonic VDR-D310PL
304 pages
Print Icon
To Next Page IconTo Next Page
To Next Page IconTo Next Page
To Previous Page IconTo Previous Page
To Previous Page IconTo Previous Page
Loading...
Grabación
52
LSQT1150
Grabación de imágenes fijas (imágenes fijas JPEG)
(VDR-D310/VDR-D230)
(SD)
Utilice una tarjeta SD para grabar imágenes fijas.
En el momento de la compra de la cámara, la opción [TAMAÑO] viene ajustada a [ ]
(VDR-D310)/[ ] (VDR-D230) para grabación de imágenes compatibles con un televisor de
pantalla ancha (16:9).
Para grabar imágenes con una relación de aspecto de 4:3, cambie el ajuste de [TAMAÑO] antes de
iniciar la grabación (l 55).
Quite la tapa del objetivo antes de encender la cámara.
Si enciende la cámara con la tapa del objetivo instalada, la función de ajuste automático del balance
de blancos no funcionará correctamente.
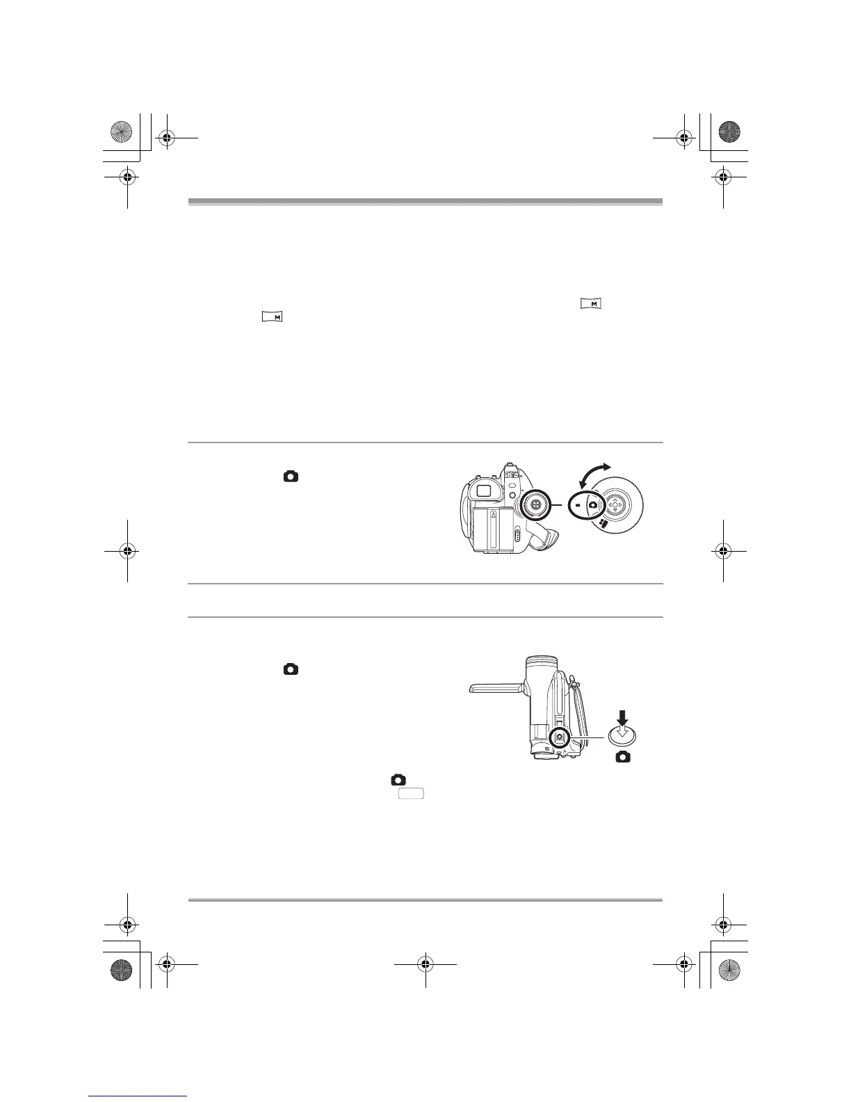
1 Encienda la cámara.
2 Gire el selector de modo para
seleccionar .
3 Abra la pantalla LCD o extienda el visor.
VDR-D310
4 Presione el botón de toma
fotográfica [ ] hasta la mitad para
ajustar el enfoque. (Sólo para
enfoque automático)
Se fijan la velocidad de obturación y el valor de iris/
ganancia y la cámara enfoca el objeto
automáticamente.
Si se ajusta [O.I.S.] (l 64) a [SÍ], la función de
estabilización de imagen será más efectiva cuando
se presione el botón de toma fotográfica [ ]
hasta la mitad. (En la pantalla se visualiza [ ]
(estabilizador óptico de imagen MEGA).)
2
0.2
MEGA
LSQT1150.book 52 ページ 2007年1月19日 金曜日 午前9時35分

Table of Contents

Related product manuals