EasyManua.ls Logo

PEDROLLO E2 TRI - Elektrische Anschlüsse; Schaltanlage E MONO mit Kondensator in der Elektrischen Pumpe; Schaltanlage E MONO (Einphasig) mit Externem Kondensator

PEDROLLO E2 TRI
Print Icon
To Next Page IconTo Next Page
To Next Page IconTo Next Page
To Previous Page IconTo Previous Page
To Previous Page IconTo Previous Page
Loading...
73
DEUTSCH |
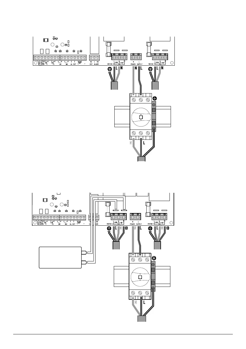
ELEKTRISCHE ANSCHLÜSSE
Schaltanlage E MONO mit Kondensator in der elektrischen Pumpe
Schaltanlage E MONO (einphasig) mit externem Kondensator
(im Schaltschrank eingebaut)
L
L
L
L
N
N
N N
NC
EXT POWER SUPPLYALARM
MOTOR 2
C NO N L
L
N
MAIN
AUX
MOTOR 1
L
N
MAIN
AUX
MAX
MIN
COM
T1 T2 IN1 IN2 AL EXT
4-20
mA
ELEKTRISCHE PUMPE 2
(falls vorhanden)
1~ 230 V | 50 – 60 Hz
ELEKTRISCHE PUMPE 1
L LN N
NC
EXT POWER SUPPLYALARM
MOTOR 2
C NO N L
L
N
MAIN
AUX
MOTOR 1
L
N
MAIN
AUX
LN
L N
MAX
MIN
COM
T1 T2 IN1 IN2 AL EXT
4-20
mA
KONDENSATOR
(extern)
ELEKTRISCHE PUMPE 2
(falls vorhanden)
ELEKTRISCHE PUMPE 1
1~ 230 V | 50 – 60 Hz

Table of Contents

Related product manuals