EasyManua.ls Logo

Pfannenberg DTS - Funktion; Funktionsprincip; Kondensat; OmMontering,AnslutningOchDriftFinnsIEnSeparatBilaga

Pfannenberg DTS
Print Icon
To Next Page IconTo Next Page
To Next Page IconTo Next Page
To Previous Page IconTo Previous Page
To Previous Page IconTo Previous Page
Loading...
24 085 408 164
3.2 Extrautrustning
Följande delar kan beställas separat:
• kåpamedförsättslter;
• ytterligareextrautrustningarefterförfråganellerenligtkatalog.
4 Allmänna uppgifter
• FörbrukadeaggregatkanomhändertasavPfannenbergför
fackmässig skrotning. Leveransen till en av våra fabriker med
tillverkning måste ske kostnadsfritt.
• AllakylaggregatfrånPfannenberg är fria från
Silikonföreningar,
PCB,
PCT,
Asbest,
Formaldehyd,
Kadmium,
vätmedelsstörande substanser.
• TäthetenkontrollerasiallakylaggregatenlUVV-BGVD4.
• Alla kylaggregat genomgår en elektrisk säkerhetskontroll i fa-
briken före leverans. Därmed bortfaller kravet på användaren
enlUVV-BGVA2,§5(4),attkylaggregatetselutrustningmåste
kontrolleras före driftstart.
5 Typskylt och tekniska data
För installation och underhåll beaktas uppgifterna på typskylten; den
sitter på baksidan av kylaggregatets hus.
Utförligaretekniskadataförkylaggregatetnnsibilagan.
6 Säkerhet
Kylaggregat från Pfannenberg är avsedda för värmeavledning
urkopplingsskåp(IP54).Vidallslagskylningkankondensvatten
uppstå.
Kylaggregatet passar endast för stationär drift.
Kylaggregatet får endast användas vid sådana omgivningsförhållanden
som räknas upp i bilagan.
Kylaggregatetäristorutsträckningunderhållsfritt(seavsnitt11).
All annan användning räknas som icke-föreskriftsenlig och leder till
att garantin upphör att gälla.
Den elektriska utrustningen måste kontrolleras regelbundet. Felak-
tigheter, såsom lösa anslutningar och brända kablar måste genast
åtgärdas.
Arbeten på kylsystemet och de elektriska komponenterna får endast
utföras av behörig fackpersonal. Vid alla slags arbeten måste tillämp-
liga föreskrifter för säkerhet och miljöskydd beaktas.
Fara!
Stäng av strömmen till kylaggregatet innan rengörings- eller
underhållsarbeten utförs.
Endast originalreservdelar får användas
7 Funktion
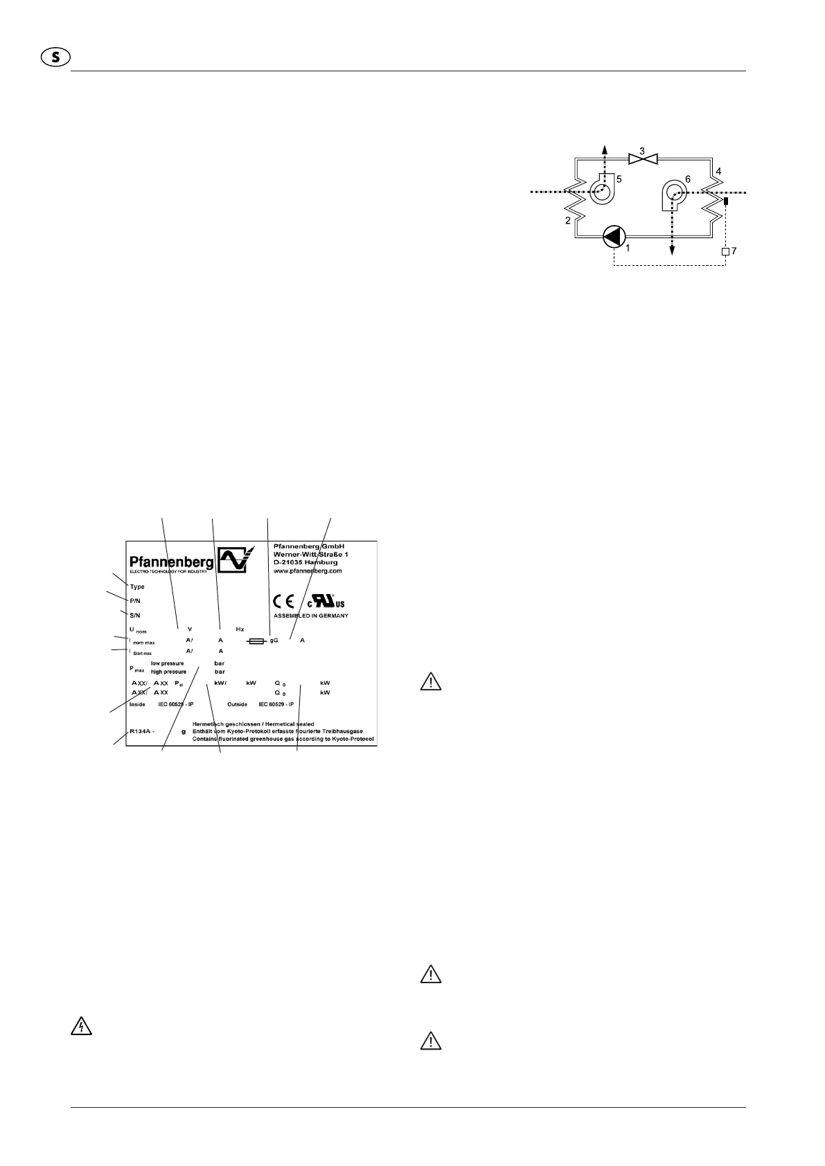
7.1 Funktionsprincip
1 Kompressor
2 Värmeväxlare(kondensor)
3 Expansionsventil
4 Värmeväxlare(förångare)
5 Fläkt, ytterkrets
6 Fläkt, innerkrets
7 Elektronisk styrning med temperatursensor
Kylmedietkomprimerastillhögttryckavkompressorn(1).Därvidökar
temperaturen.Ikondensatorn(2)avgesvärmentilldenomgivande
luften och därvid återgår kylmediet till vätskeform. Kondensator-
äkten(5) sugerrumsluftengenomkondensatornoch avgerden
till omgivningen.
Närkylmedietpasserargenomstrypventilen(3),utsättskylmediet
företttryckfall.Iförångaren(4)tarkylmedietuppvärmeurkopp-
lingsskåpet och förångas. Därigenom kyls luften i kopplingsskåpet.
Samtidigtavfuktasluftenikopplingsskåpet.Förångningsäkten(6),
suger ut luften ur kopplingsskåpet via förångaren och återför den
kylda luften till kopplingsskåpet.
Kylaggregatet styrs elektroniskt. En temperatursensor registrerar
temperaturenpålufteninutikopplingsskåpet(7).
Det använda kylmediet är oskadligt för ozonskiktet och har låg
brännbarhet.
7.2 Kondensat
Vid avkylningen i förångaren faller luftfuktigheten ut som kondensat.
För att undvika skador på kopplingsskåpet och kylaggregatet, måste
kondensatet ledas bort.
Kondensatet leds bort på följande sätt:
• Vidnormal kondensatdränering fångas kondensatet upp i en
behållare och förs bort via en slang.
Manmåstevaranogamedattdetalltidnnsenfungerandekon-
densatdränering(säkerhetsdränering).
Ett för stort kondensatutfall kan t ex uppstå om kopplingsskåpet inte
är tätt eller om kopplingsskåpets inre temperatur ofta ligger under
daggpunkten.
Varning!
Om det under normala driftförhållanden skulle utfalla ovanligt
mycket kondensat, måste tätningarna i kopplingsskåpet
kontrolleras.
För att undvika ett för stort kondensatutfall vid öppet kopp-
lingsskåp, rekommenderar vi att en dörrkontakt installeras
för så kylaggregatet ska stängs av när dörren till kopplings-
skåpet öppnas .
8 Montering
8.1 Allmänt
• Kopplingsskåpetmåsteplaceraspåensådanplats,attluftenkan
strömma fritt både in i och ut ur kylaggregatet.
• Avståndetmellanaggregatenellertillväggenmåstevaraminst
200 mm.
• Luftcirkulationenikopplingsskåpetfårintehindrasavinredningen.
• Kylaggregatet kan monteras med och utan aggregatets kåpa
(yttre).(Aggregatetmåstevaraspänningsfritt!)
• Monteringsplatsenmåsteskyddasmotstarknedsmutsning.
Varning!
Om kylaggregatet monteras på en kopplingsskåpsdörr måste
man först kontrollera att gångjärnen klarar att bära den extra
vikten och att kopplingsskåpet inte välter när det öppnas.
Varning! Risk för kopplingsskåpets inredning på
grund av borrspån.
Skärs de erforderliga utskärningarna ut i kopplingsskåpet
Kylmedietryck Kyleffekt
Startström
Apparattyp
Kylmedium
Märkspänning Frekvens
Serienummer
Säkringstyp Säkring
Effekt
Yttre/inreförhål-
landen
Märkström
Apparat-
nummer

Table of Contents

Other manuals for Pfannenberg DTS

Related product manuals