EasyManua.ls Logo

Phase AxN series - Page 14

Default Icon
58 pages
Print Icon
To Next Page IconTo Next Page
To Next Page IconTo Next Page
To Previous Page IconTo Previous Page
To Previous Page IconTo Previous Page
Loading...
12
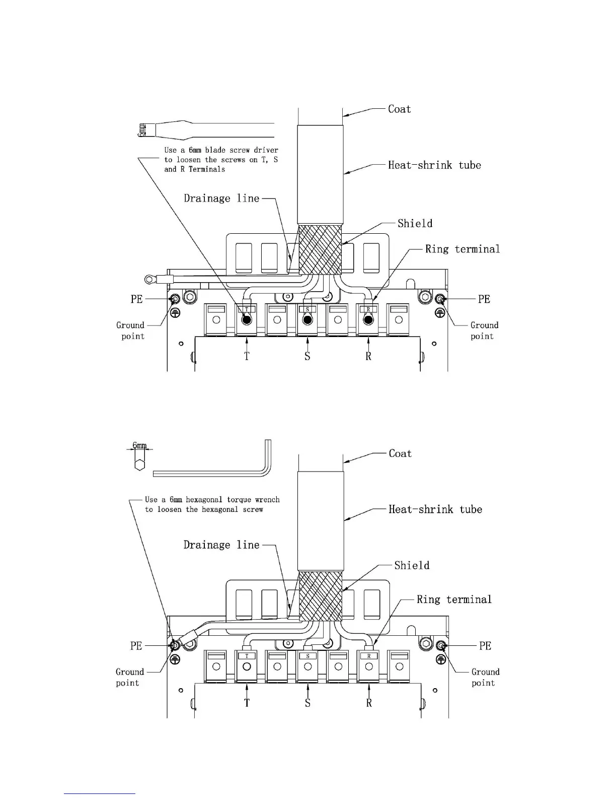
corresponding terminals: T to T, S to S and R to R. Then use a 6mm blade screw driver to tight the
screws.
Step 5: Install Grounding Wire
Use a 6mm hexagonal torque wrench to loosen the hexagonal screw on either PE Terminal which
is on the drive’s body. Fix the grounding wire on the PE terminal.

Related product manuals