EasyManua.ls Logo

Piper 6XT - PRESSURE RELIEF SWITCH; SERVICE VALVES

Piper 6XT
1190 pages
Print Icon
To Next Page IconTo Next Page
To Next Page IconTo Next Page
To Previous Page IconTo Previous Page
To Previous Page IconTo Previous Page
Loading...
THE NEW PIPER AIRCRAFT, INC.
PA-32-301FT / 301XTC
MAINTENANCE MANUAL
PAGE 42
Jun 1/03
2E6
21-50-00
K. Pressure Relief Switch
CAUTION: BEFORE RELIEF SWITCH REMOVAL, AIR CONDITIONING SYSTEM MUST BE
DISCHARGED. (REFER TO DISCHARGING.)
CA
UTION: UNITED STATES ENVIRONMENTAL REGULATIONS PROHIBIT THE RELEASE OF
REFRIGERANT INTO THE ATMOSPHERE. SPECIAL EQUIPMENT IS REQUIRED
WHEN DISCHARGING OR RECHARGING SYSTEM.
(1) Remove electrical connections from switch.
(2) Remove switch assembly from service port on steel line.
(3) Apply sealant sparingly to flare. When O-ring is present in HFC-134a systems, lube O-ring with
PAG oil.
(4) Install new switch.
(5) Charge system per paragraph 3.C or 3.D, above.
L. Service Valves
CA
UTION: IF AIR CONDITIONING REFRIGERANT LINES OR SYSTEM IS OPENED, LINES
AND FITTINGS MUST BE CAPPED AND SEALED IMMEDIATELY TO PREVENT
DIRT AND OTHER CONTAMINANTS FROM ENTERING THE SYSTEM. (DO NOT
PUT A PLUG INTO THE HOSES OR FITTINGS.)
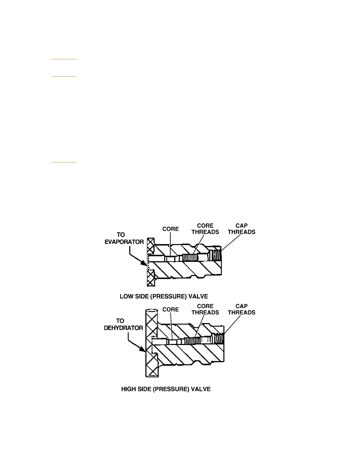
Use inline service valves for all normal air conditioning service (i.e. - testing, bleeding, evacuating,
and charging). The aircraft is equipped with inline service valves mounted in the suction and
discharge lines of the evaporator assembly located behind the cabin rear closeout panel. These
inline service valves are quick disconnect type Schrader valves.
Service Valves
Figure 17

Table of Contents

Related product manuals